• Overview
  • Spare Parts
  • Operation
  • Certificates And Protocols
  • Maintenance
  1. Overview
  2. Spare Parts
  3. HC 350, HC 350 R s/n BES169745 -
  4. Options / accessories
  5. Optional equipment part 2
Options / accessories
  • HC 350, HC 350 R s/n BES169745 -
  • HC 350 HC 350 R BES132129 - BES169744 PDF
  • HC 350 HC 350 R BES169745 - PDF
  • HC 350 SN_BGF043164_to_BGF064212 PDF
  • HC 350 from_SN_BGF064213 PDF
  • HC 350 SN_BGF085449_ PDF
  • HC 350 SN_BGF100473_ PDF
  • HC 350 SN_DEQ176000-DEQ196650 PDF
  • HC 350 SN_DEQ196651-DEQ206647 PDF
  • Service, repair and wear part kits
  • Mechanical
  • Options / accessories
  • Hydraulic hoses HC 350
  • Optional equipment part 1
  • Optional equipment part 2
© 2026 EpirocLegal notice Privacy policy

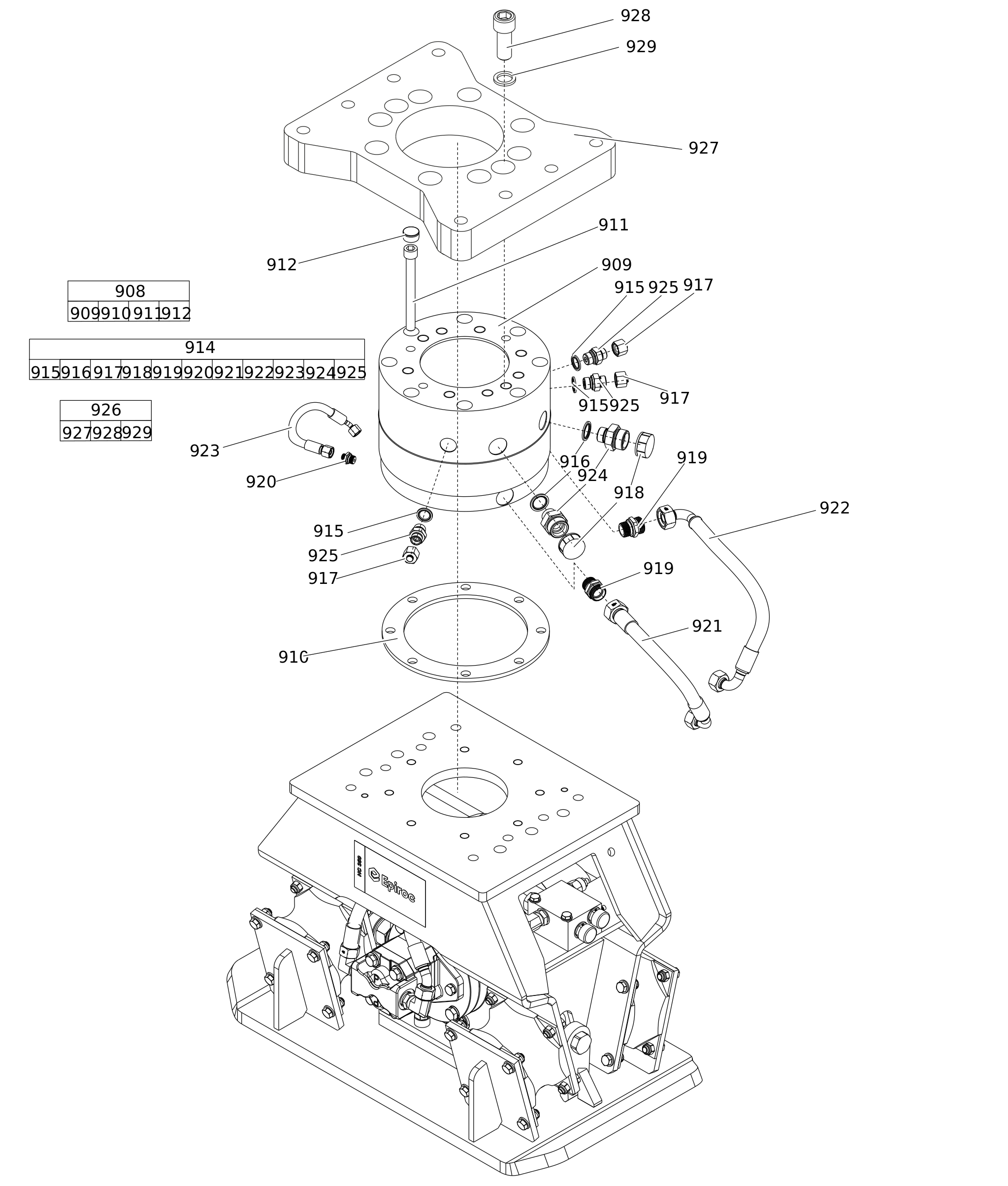
Spare Parts

Optional equipment part 2

Illustration for 0
#
Part number
Name
QTY
Remarks
Information
3316000231ROTATION KIT HC 3501
3376100987ROTATION UNIT1
3372100062ROTATOR1
3376100990SPACER1
0211149300HEXAGON SOCKET SCREW8
5750534996PLUG8
3316000234HOSE/FITTING KIT1
0661100027SEAL WASHER 21.54x28.58x2.473
0661100029SEAL WASHER 27.05x34.93x2.472
3376100873PLUG3
0686925030CAP2
0580001659PIPE COUPLING1
5750535330ADAPTER GE10 LR1
3316000224HYDRAULIC HOSE (P)1
3316000225HYDRAULIC HOSE (T)1
3316000221HYDRAULIC HOSE1
3376520023FITTING2
3376560020FITTING3
3363115683SANDWICH PLATE COMPLETE1
3363115685SANDWICH PLATE1
3360026782ALLEN SCREW10
3361850748PAIR OF LOCK WASHERS10