• Overview
  • Spare Parts
  • Operation
  • Certificates And Protocols
  1. Overview
  2. Spare Parts
  3. EC 150T s/n DEQ181223 -
  4. Mechanical
  5. Percussion unit part 2: cylinder
Mechanical
  • EC 150T s/n DEQ181223 -
  • EC 150 DEQ181223- PDF
  • EC 150 DEQ151618-DEQ181222 PDF
  • EC 150 DEQ140896-DEQ151617 PDF
  • Service, repair and wear part kits
  • Mechanical
  • Options / accessories
  • Hydraulic breaker
  • Percussion unit part 1: cylinder cover
  • Percussion unit part 2: cylinder
  • Percussion unit part 3: lower breaker part
  • HATCON
  • Tightening torques
  • Dimensions
© 2026 EpirocLegal notice Privacy policy

Spare Parts

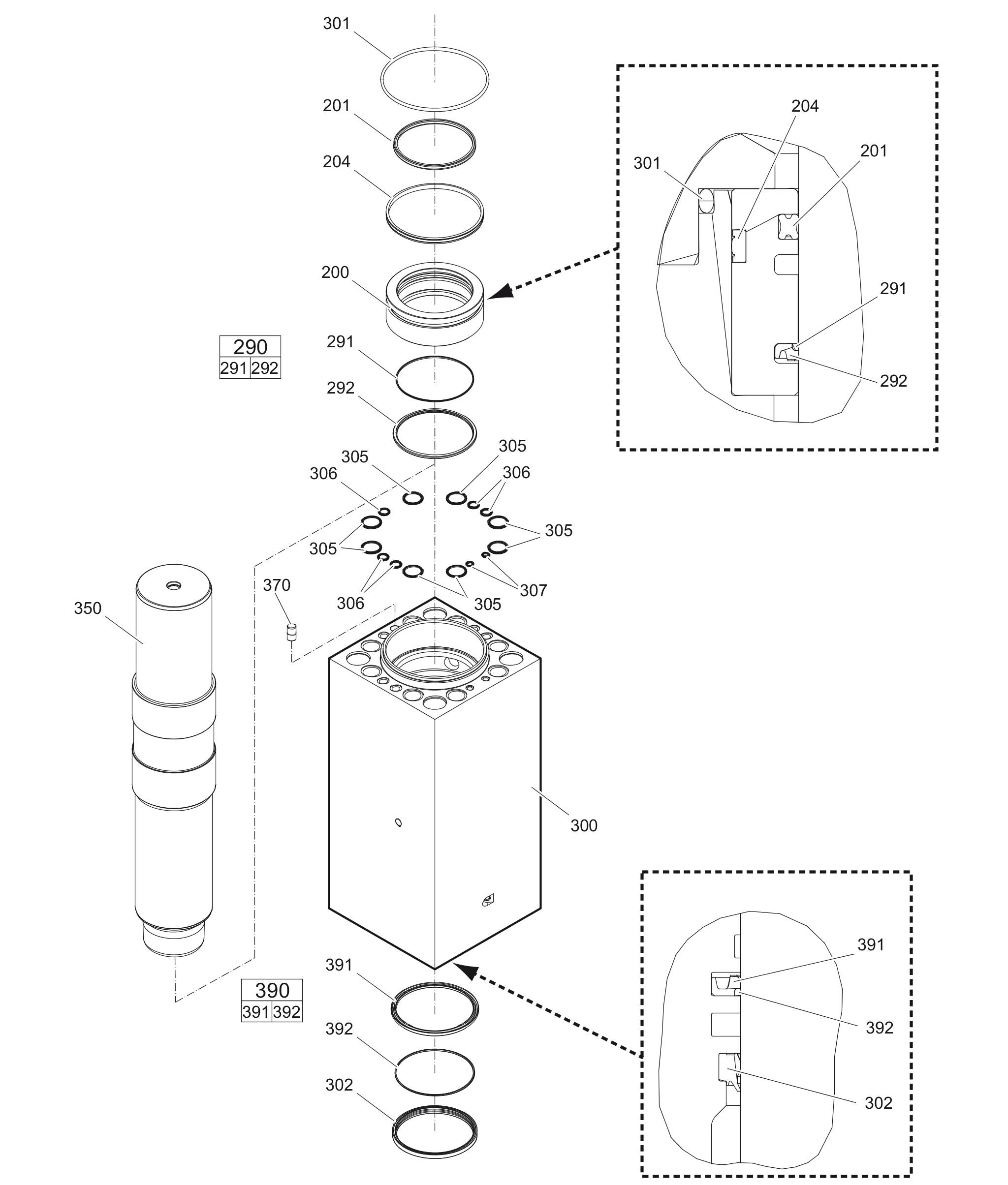
Percussion unit part 2: cylinder

Illustration for 0
#
Part number
Name
QTY
Remarks
Information
3363112392Seal flange1
3361855099Seal1
3363112705Seal1
3363083589Seal kit1
-Back-up ring1
-Seal1
3363112528Cylinder1
3361031950O-ring1
3363083669Wiper1
3362267281SEAL8
3362267585SEAL5
3362267582Stircomatic2
3363112401Percussion piston1
3362268185Lock pin1
3363083590Seal kit1
-Seal1
-Back-up ring1