• Overview
  • Spare Parts
  • Operation
  • Certificates And Protocols
  • Maintenance
  1. Overview
  2. Spare Parts
  3. HB 2500 , HB 2500 DP s/n DEQ220482 -
  4. Mechanical
  5. Percussion unit part 2: cylinder
Mechanical
  • Base plate (10) HB 2000, HB 2200, HB 2500
  • Base plate (22) HB 2000, HB 2200, HB 2500
  • HB 2500 , HB 2500 DP s/n DEQ220482 -
  • HB 2500 HB 2500 DP DEQ180110-DEQ220481 PDF
  • HB 2500 HB 2500 DP DEQ220482- PDF
  • HB 2500 HB 2500 DP DEQ171218-DEQ180109 PDF
  • Forced air ventilation in underwater applications
  • Service, repair and wear part kits
  • Mechanical
  • Options / accessories
  • Hydraulic breaker HB 2500
  • Hydraulic breaker HB 2500 DP
  • Percussion unit part 1: cylinder cover
  • Percussion unit part 2: cylinder
  • Percussion unit part 3: lower breaker part (steel)
  • Percussion unit part 3: lower breaker part (bronze)
  • Connecting kit for automatic lubrication system
  • HATCON
  • Optional parts
  • Tightening torques
  • Dimensions HB 2500
  • Dimensions HB 2500 DP
© 2026 EpirocLegal notice Privacy policy

Spare Parts

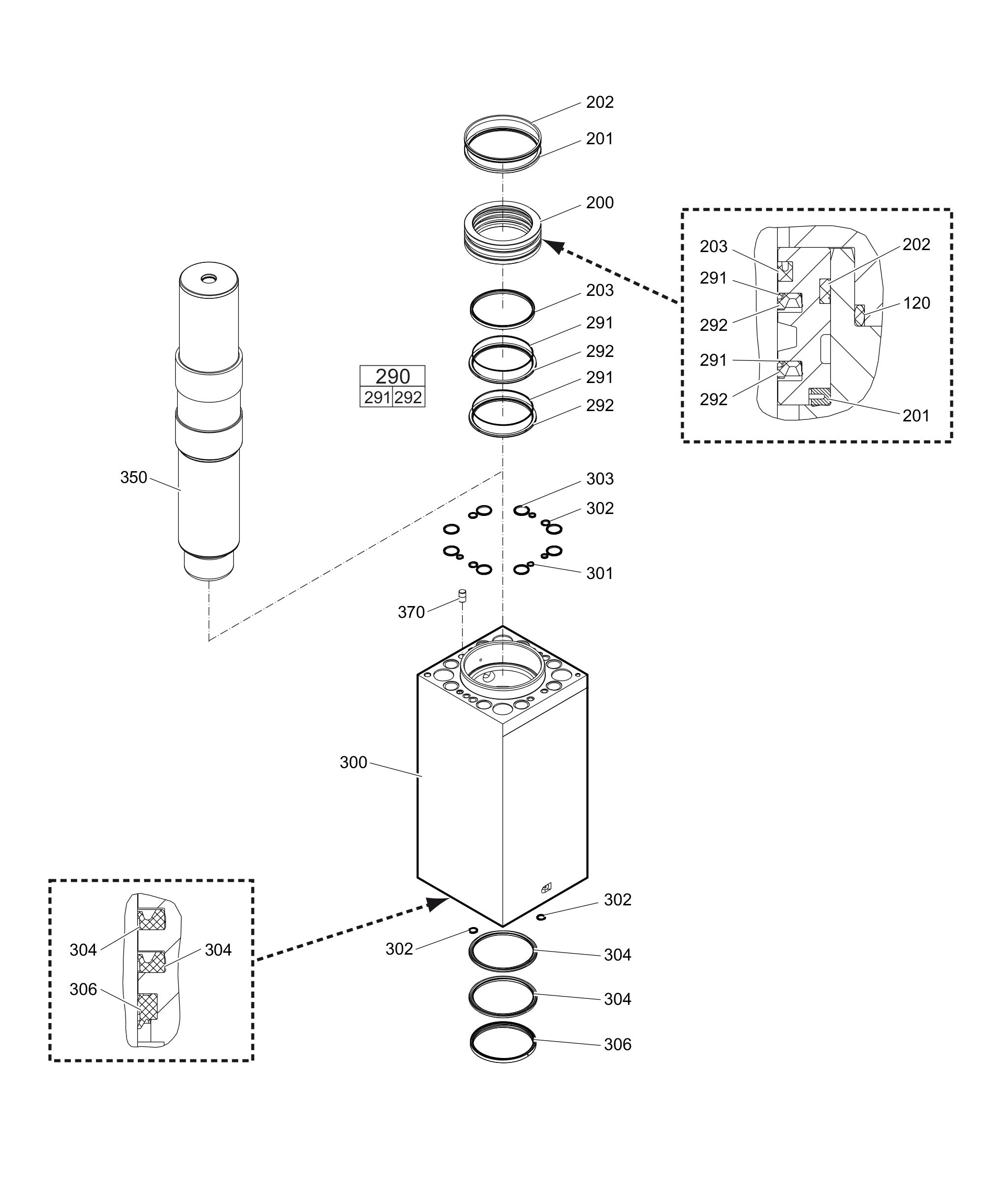
Percussion unit part 2: cylinder

Illustration for 0
#
Part number
Name
QTY
Remarks
Information
3363097711Seal bush1
3363097791Ring1
3363098135Seal1
3363094624Seal1
3363094641Seal kit2
-Back-up ring1
-Seal1
3363119762Cylinder1
3362267583SEAL6
3362267585SEAL5
3362267281SEAL8
3363122397Seal2
3363094625Wiper1
3363094600Percussion piston1
3362268185Lock pin1