• Overview
  • Spare Parts
  • Operation
  • Certificates And Protocols
  • Maintenance
  1. Overview
  2. Spare Parts
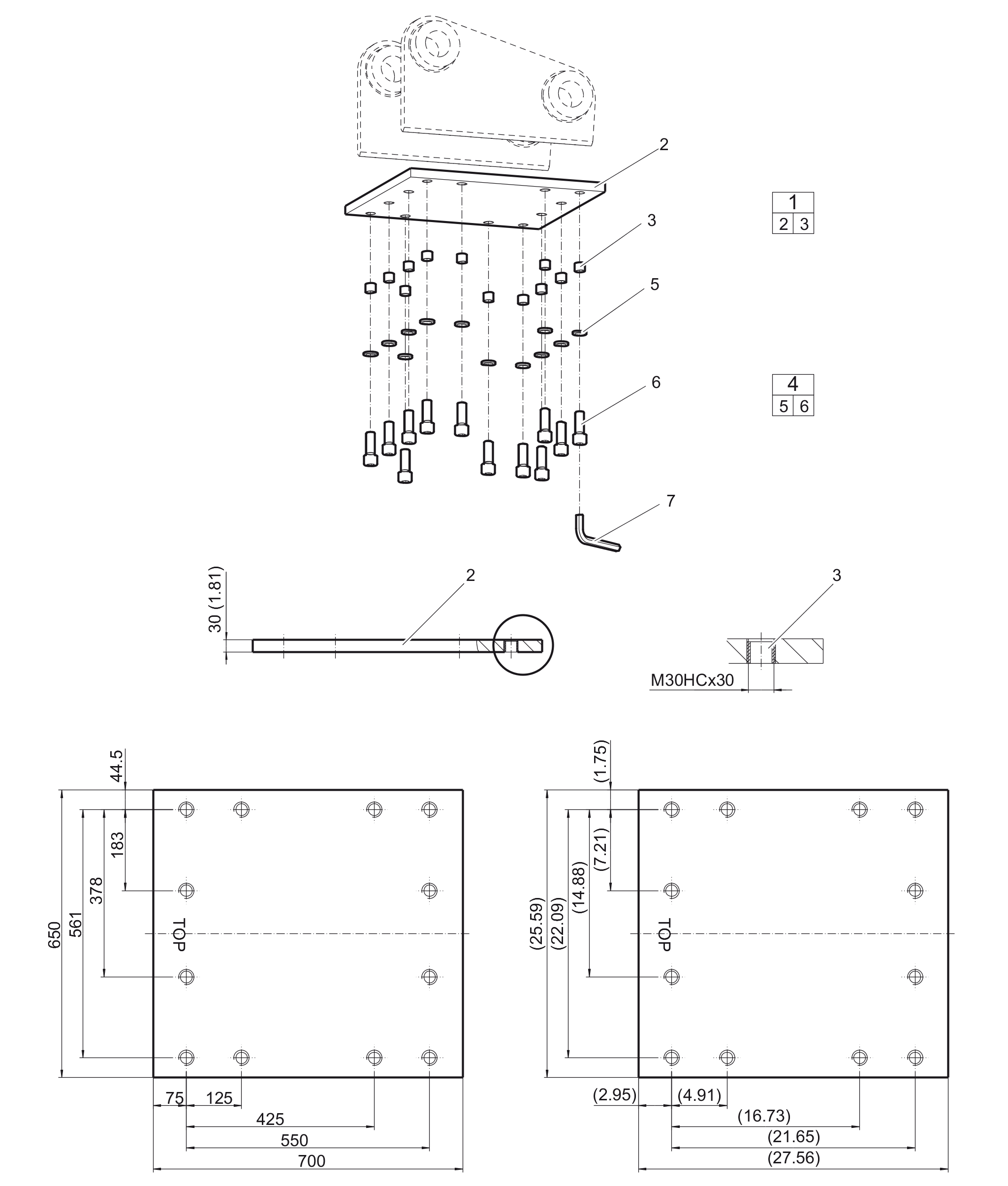
  3. Base plate (10) HB 2000, HB 2200, HB 2500
Base plate (10) HB 2000, HB 2200, HB 2500
  • Base plate (10) HB 2000, HB 2200, HB 2500
  • Base plate (22) HB 2000, HB 2200, HB 2500
  • HB 2500 , HB 2500 DP s/n DEQ220482 -
  • HB 2500 HB 2500 DP DEQ180110-DEQ220481 PDF
  • HB 2500 HB 2500 DP DEQ220482- PDF
  • HB 2500 HB 2500 DP DEQ171218-DEQ180109 PDF
  • Forced air ventilation in underwater applications
© 2026 EpirocLegal notice Privacy policy

Spare Parts

Base plate

Illustration for 0
#
Part number
Name
QTY
Remarks
Information
3363099795BASE PLATE WITH THREADED INSERTS0
3363099795BASE PLATE WITH THREADED INSERTS1
-Base plate1
3360478261Threaded insert, M30x30, factory assembled12
3363087303BOLT KIT1
3363087303BOLT KIT0
3361850747PAIR OF LOCK WASHERS12
3360026882ALLEN SCREW12
3360209445ALLEN KEY (22 mm)0
3360209445ALLEN KEY (22 mm)1