• Overview
  • Spare Parts
  • Operation
  • Certificates And Protocols
  • Maintenance
  1. Overview
  2. Spare Parts
  3. BP 3050, BP 3050 R s/n DEQ169179 -
  4. Mechanical
  5. Upper part complete
Mechanical
  • Base plate (15) CC 2500, CC 3100, DP 2800, BP 2900, BP 3050, BS 2200, MG 2100, MG 2300, MG 2700, MG 3000, BC 3700, SC 2500
  • Base plate (28) CC 2500, CC 3100, DP 2800, BP 2900, BP 3050, BS 2200, MG 2100, MG 2300, MG 2700, MG 3000, DC 2000, DC 2100, DC 2900, BC 3700, SC 2500
  • BP 3050, BP 3050 R s/n DEQ169179 -
  • BP 3050 BP 3050 R 103-DEQ149424 PDF
  • BP 3050_BP 3050 R DEQ169179-DEQ250006_DGR240001-DEQ240045 PDF
  • BP 3050_BP 3050 R DEQ149425-DEQ159198 PDF
  • BP 3050_BP 3050 R DEQ159199-DEQ169178 PDF
  • BP 3050 BP 3050 R DGR240046- PDF
  • Service, repair and wear part kits
  • Mechanical
  • Options / accessories
  • Bulk pulverizer BP 3050 non rotating
  • Bulk pulverizer BP 3050 rotating
  • Pulverizer jaw
  • Hydraulic cylinder
  • Upper part complete
  • Rotary transmission
  • HATCON
  • Tightening torques
  • Dimensions BP 3050 non rotating
  • Dimensions BP 3050 rotating
© 2026 EpirocLegal notice Privacy policy

Spare Parts

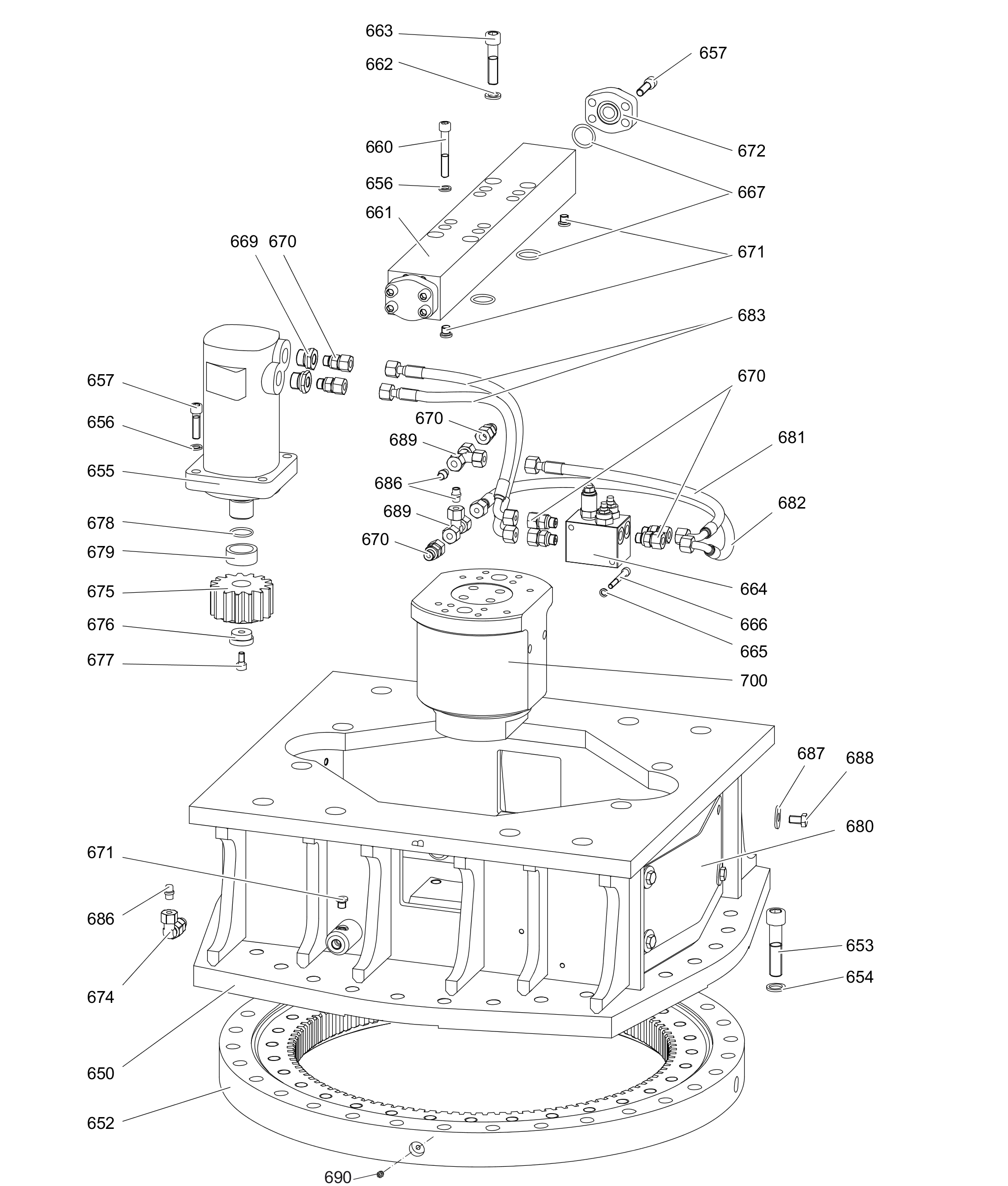
Upper part complete

Illustration for 0
#
Part number
Name
QTY
Remarks
Information
3363104175Upper part complete1with item 652 - 700B | see separate chapter
3363070082Four point bearing1
3360106099ALLEN SCREW28
3361850748PAIR OF LOCK WASHERS28
3363098967HYDRAULIC MOTOR1
3361850596PAIR OF LOCK WASHERS12
3360026513ALLEN SCREW12
3363034429ALLEN SCREW8
3363104173Connection plate1
3361333703PAIR OF LOCK WASHERS4
3360026646ALLEN SCREW4
3362266712VALVE BLOCK1
3361850743PAIR OF LOCK WASHERS2
3360103738ALLEN SCREW2
3360314370O-RING4
3362267435FITTING2
3360478333FITTING8
3360478439THREADED PLUG4
3363034040BLIND FLANGE2
3363091912FITTING2
3362260807SPUR PINION1
3363088327RING1
3361031981ALLEN SCREW1
3360313304O-RING1
3362265869RING1
3363104171Cover sheet2
3363083970Hydraulic hose1
3363085884Hydraulic hose1
3363085885HYDRAULIC HOSE2
3360314593PLUG4
3362328082WASHER8
3360433381HEXAGON HEAD BOLT8
3360314543FITTING2
3360209834GREASE NIPPLE4
3363033685ROTARY TRANSMISSION1