• Overview
  • Spare Parts
  • Operation
  • Certificates And Protocols
  • Maintenance
  1. Overview
  2. Spare Parts
  3. HB 10000 DP s/n DEQ220482 -
  4. Service, repair and wear part kits
  5. Seal kit
Service, repair and wear part kits
  • Base plate (26) HB 10000, SC 8300
  • Base plate (32) HB 10000, SC 8300
  • HB 10000 DP s/n DEQ220482 -
  • HB 10000 DP DEQ121277-DEQ160468 PDF
  • HB 10000 DP DEQ160469-DEQ181403, DEQ191769, DEQ191770 PDF
  • HB 10000 DP DEQ181404-DEQ191768, DEQ191771-DEQ220481 PDF
  • HB 10000 DP DEQ220482- PDF
  • Forced air ventilation in underwater applications
  • Service, repair and wear part kits
  • Mechanical
  • Options / accessories
  • Label kit
  • Seal kit
  • Plastic parts kit
  • Tensioning bolt kit
  • DustProtector kit
  • Noise protection kit
  • Lower breaker part kit (bronze)
  • Lower breaker part kit (steel)
  • Fastening screw kit
  • Accumulator repair kit
© 2026 EpirocLegal notice Privacy policy

Spare Parts

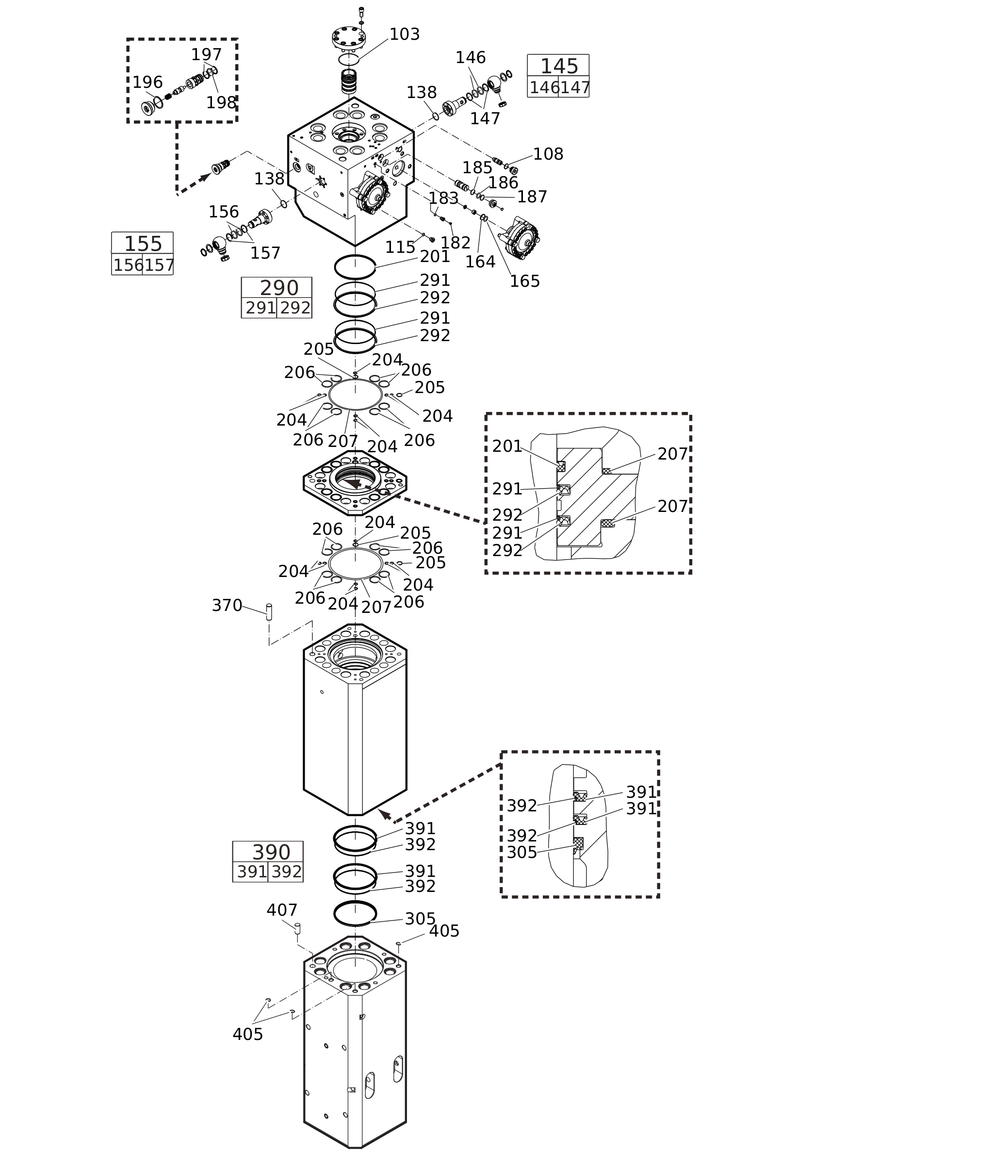
Seal kit

Illustration for 0
#
Part number
Name
QTY
Remarks
Information
3363121226Seal kit1
3360478291O-ring1
3360314370O-RING1
3360478171O-RING1
3360314373O-RING2
3360314364O-RING2
3360328046BACK-UP RING2
3361850422SEAL KIT1
3361850422SEAL KIT1
-O-RING2
-O-RING2
-BACK-UP RING2
-BACK-UP RING2
3360478426THREADED PLUG1
3360175125O-RING1
3363123253SEAL1
3360314790O-RING1
3363126739BACK-UP RING1
3363121175SEAL1
3363121176BACK-UP RING2
3360314453O-RING1
3360314453O-RING3
3363103420Seal1
3363124052Seal14
3363124053Seal4
3363124054Seal16
3363094978O-ring2
3363098324Seal kit2
-Back-up ring1
3363100019Seal1
3363094974Wiper1
3360106819LOCK PIN1
3363098325Seal kit2
-Seal1
-Back-up ring1
3360106818LOCK PIN1