• Overview
  • Spare Parts
  • Operation
  • Certificates And Protocols
  • Maintenance
  1. Overview
  2. Spare Parts
  3. HB 7000, 7000 DP s/n DEQ220482 -
  4. Service, repair and wear part kits
  5. Seal kit
Service, repair and wear part kits
  • Base plate (13) HB 7000, MG 5000, SC 6200
  • Base plate (25) HB 7000, MG 5000, SC 6200
  • HB 7000, 7000 DP s/n DEQ220482 -
  • HB 7000 HB 7000 DP DEQ160390-DEQ181633 PDF
  • HB 7000 HB 7000 DP DEQ181634-DEQ220481 PDF
  • HB 7000 HB 7000 DP DEQ220482 - PDF
  • Forced air ventilation in underwater applications
  • Service, repair and wear part kits
  • Mechanical
  • Options / accessories
  • Label kit
  • Seal kit
  • Plastic parts kit
  • Tensioning bolt kit
  • DustProtector kit
  • Noise protection kit
  • Lower breaker part kit (bronze)
  • Lower breaker part kit (steel)
  • Lower breaker part kit (bronze) DustProtector
  • Lower breaker part kit (steel) DustProtector
  • Fastening screw kit
  • Accumulator repair kit
© 2026 EpirocLegal notice Privacy policy

Spare Parts

Seal kit

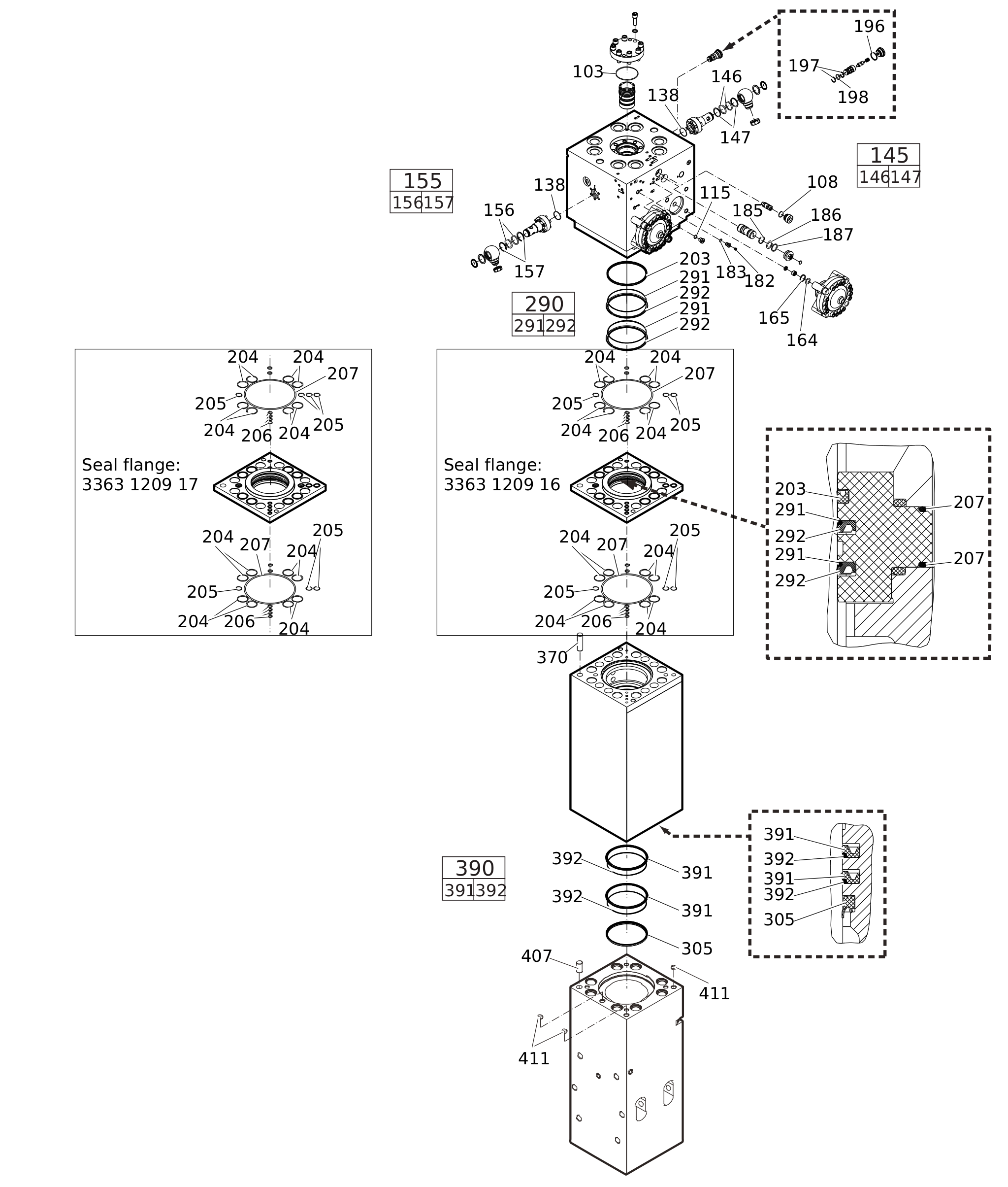
Illustration for 0
#
Part number
Name
QTY
Remarks
Information
3363121225SEAL KIT1
3360314376O-RING1
3360314370O-RING1
3360478171O-RING1
3360314373O-RING2
3361850422SEAL KIT1
3361850422SEAL KIT1
-O-RING2
-O-RING2
-BACK-UP RING2
-BACK-UP RING2
3360314364O-RING2
3360328046BACK-UP RING2
3360478426THREADED PLUG1
3360175125O-RING1
3363123253SEAL1
3360314790O-RING1
3363126739BACK-UP RING1
3363121175SEAL1
3363121176BACK-UP RING2
3360314453O-RING1
3360314453O-RING3
3363103419SEAL1
3360314455O-RING 16
3360314368O-RING6
3360478097O-RING12
3361031988O-RING2
3362268907SEAL KIT2
-SEAL1
-BACK-UP RING1
3363083672WIPER1
3360106819LOCK PIN1
3362268905SEAL KIT2
-SEAL1
-BACK-UP RING1
3360106818LOCK PIN1