• Overview
  • Spare Parts
  • Operation
  • Certificates And Protocols
  • Maintenance
  1. Overview
  2. Spare Parts
  3. Base plate (25) HB 7000, MG 5000, SC 6200
Base plate (25) HB 7000, MG 5000, SC 6200
  • Base plate (13) HB 7000, MG 5000, SC 6200
  • Base plate (25) HB 7000, MG 5000, SC 6200
  • HB 7000, 7000 DP s/n DEQ220482 -
  • HB 7000 HB 7000 DP DEQ160390-DEQ181633 PDF
  • HB 7000 HB 7000 DP DEQ181634-DEQ220481 PDF
  • HB 7000 HB 7000 DP DEQ220482 - PDF
  • Forced air ventilation in underwater applications
© 2026 EpirocLegal notice Privacy policy

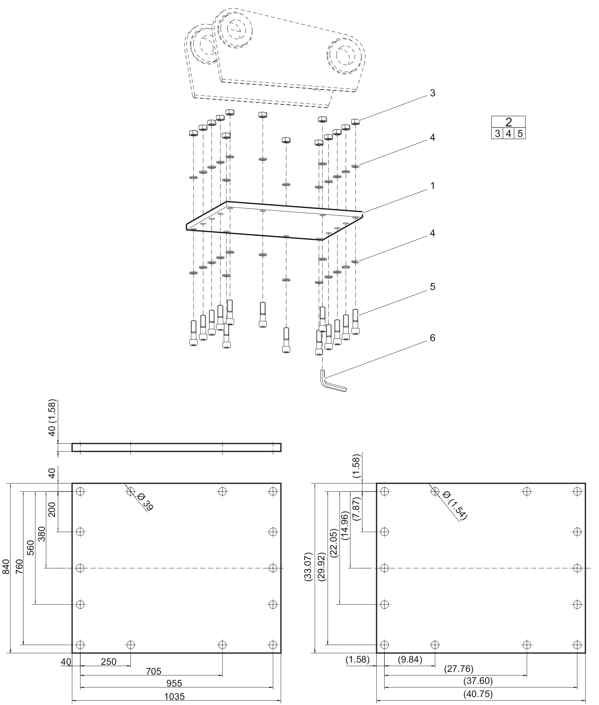
Spare Parts

Base plate

Illustration for 0
#
Part number
Name
QTY
Remarks
Information
3363102875BASE PLATE WITH THROUGH BORINGS1material: EN10025-S355 J2G3
3363094577BOLT KIT1
3360103255NUT14
3361853365PAIR OF LOCK WASHERS28
3360103802Allen screw14
3360478949ALLEN KEY (27 mm)1