• Overview
  • Spare Parts
  • Operation
  • Certificates And Protocols
  • Maintenance
  1. Overview
  2. Spare Parts
  3. HB 4700, 4700 DP s/n DEQ220482 -
  4. Mechanical
  5. Percussion unit part 2: cylinder
Mechanical
  • Base plate (30) BC 5300, HB 3100, HB 3600, HB 4100, HB 4700, SC 3600, SC 4500
  • Base plate (31) HB 3100, HB 3600, HB 4100, HB 4700, SC 3600, SC 4500
  • HB 4700, 4700 DP s/n DEQ220482 -
  • HB 4700 HB 4700 DP DEQ171411-DEQ180773 PDF
  • HB 4700 HB 4700 DP DEQ180774-DEQ220481 PDF
  • HB 4700 HB 4700 DP DEQ220482 - PDF
  • Forced air ventilation in underwater applications
  • Service, repair and wear part kits
  • Mechanical
  • Options / accessories
  • Hydraulic breaker HB 4700
  • Hydraulic breaker HB 4700 DP
  • Percussion unit part 1: cylinder cover
  • Percussion unit part 2: cylinder
  • Percussion unit part 3: lower breaker part (steel)
  • Percussion unit part 3: lower breaker part (bronze)
  • Connecting kit for automatic lubrication system
  • HATCON
  • Optional parts
  • Tightening torques
  • Dimensions HB 4700
  • Dimensions HB 4700 DP
© 2026 EpirocLegal notice Privacy policy

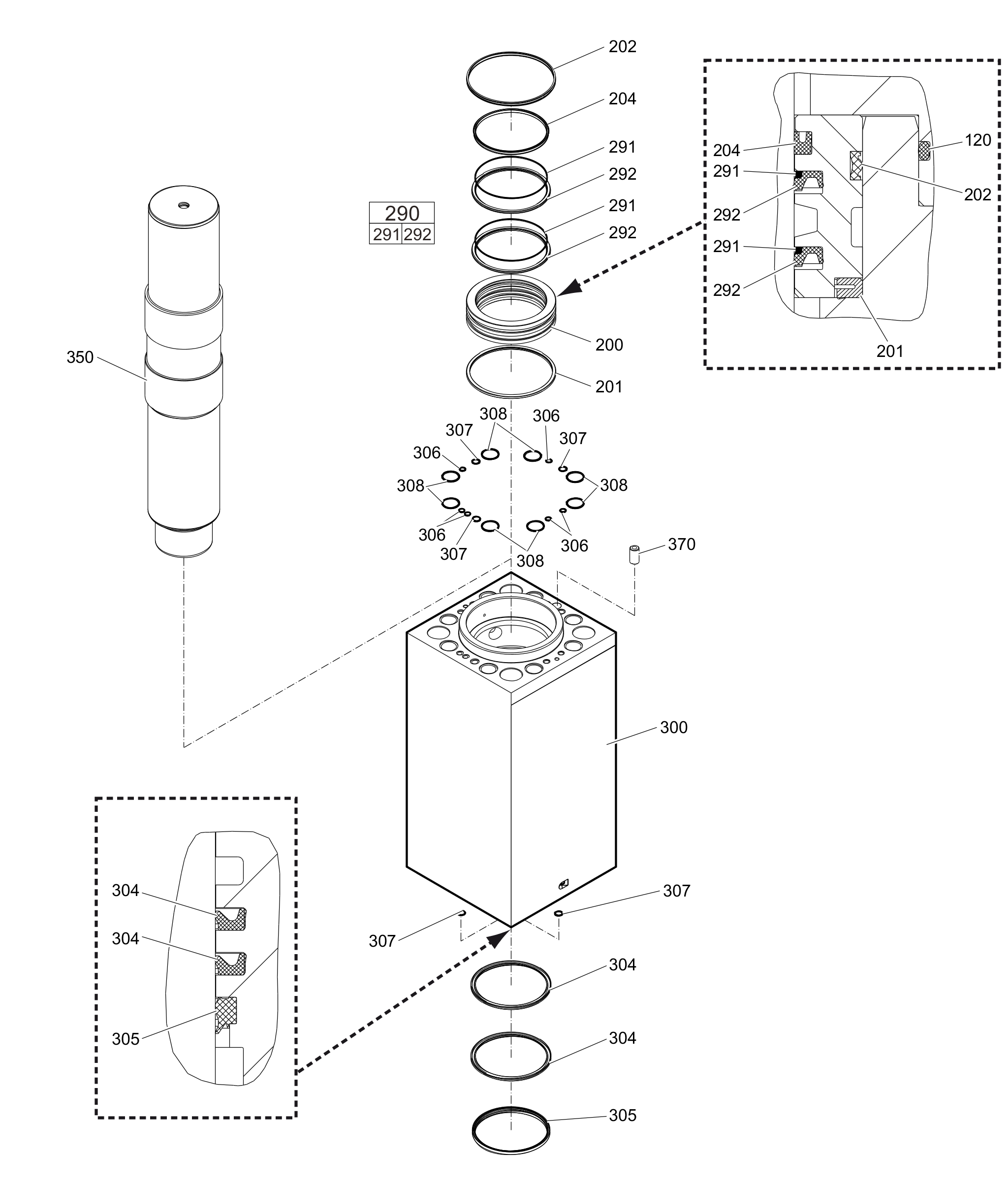
Spare Parts

Percussion unit part 2: cylinder

Illustration for 0
#
Part number
Name
QTY
Remarks
Information
3363105017Seal bush1
3363105019Ring1
3363103874Seal1
3363103804Seal1
3363103837Seal kit2
-Back-up ring1
-Seal1
3363120176Cylinder1
3363122999Seal2
3363103805Wiper1
3362267583SEAL6
3362267585SEAL5
3362267589Seal8
3363103828Percussion piston1
3360921413Lock pin1