• Overview
  • Spare Parts
  • Operation
  • Certificates And Protocols
  • Maintenance
  1. Overview
  2. Spare Parts
  3. SB 102 s/n BES149351 -
  4. Service, repair and wear part kits
  5. Accumulator repair kit
Service, repair and wear part kits
  • SB 102 s/n BES149351 -
  • Base plate (2) SB 102, HC 103
  • SB 102 BES043603-BES149350 PDF
  • SB accumulator screws
  • SB 102 BES149351- PDF
  • SB 102 BES000001-BES043602 PDF
  • Forced air ventilation in underwater applications
  • Service, repair and wear part kits
  • Mechanical
  • Options/accessories
  • Annex
  • Label kit
  • Seal kit
  • Lower hammer part kit
  • Accumulator repair kit
© 2026 EpirocLegal notice Privacy policy

Spare Parts

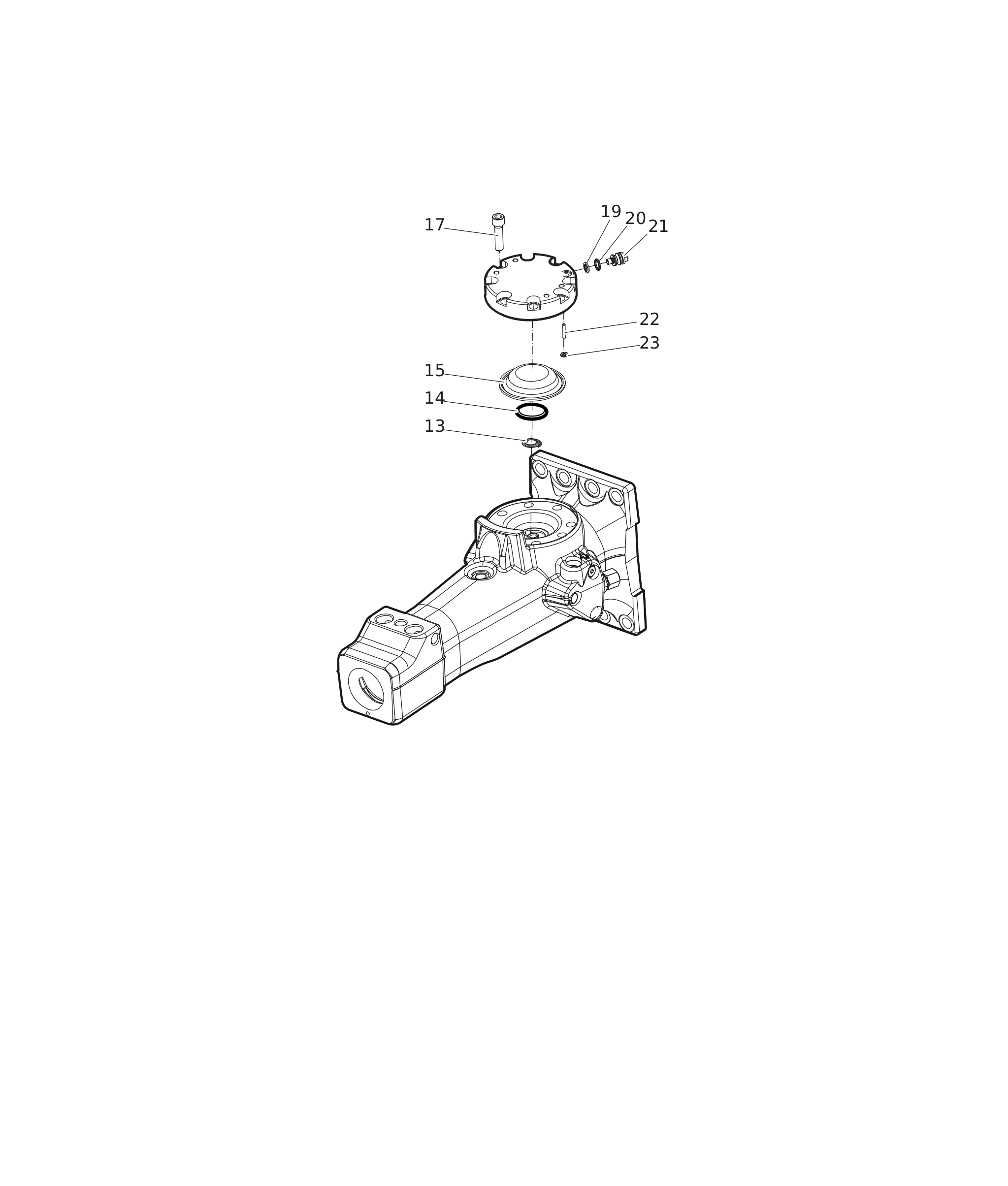
Accumulator repair kit

Illustration for 0
#
Part number
Name
QTY
Remarks
Information
3382070209ACCUMULATOR REPAIR KIT1
3315359610COIL SPRING1
3315359521DIAPHRAGM SUPPORT1
3315238200DIAPHRAGM1
0211196534HEX SOCK. SCREW8
3115329002SEAL RING1
0663212000O-RING1
3315366000VALVE1
0101414000PIN1
0663211400O-RING1