• Overview
  • Spare Parts
  • Operation
  • Certificates And Protocols
  • Maintenance
  1. Overview
  2. Spare Parts
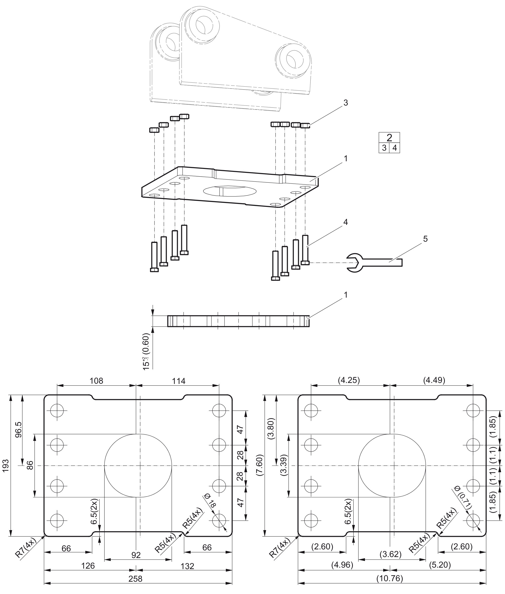
  3. Base plate (2) SB 102, HC 103
Base plate (2) SB 102, HC 103
  • SB 102 s/n BES149351 -
  • Base plate (2) SB 102, HC 103
  • SB 102 BES043603-BES149350 PDF
  • SB accumulator screws
  • SB 102 BES149351- PDF
  • SB 102 BES000001-BES043602 PDF
  • Forced air ventilation in underwater applications
© 2026 EpirocLegal notice Privacy policy

Spare Parts

Base plate

Illustration for 0
#
Part number
Name
QTY
Remarks
Information
3315322600BASE PLATE WITH TROUGH BORINGS1material: EN10025-S355 J2G3
3315322100BOLT KIT1
0266211400Hex. Nut8
3315322000Hexagon, screws8
3360430655OPEN END SPANNER (24/27 mm)1