• Overview
  • Operation
  • Certificates And Protocols
  • Spare Parts
  1. Overview
  2. Spare Parts
  3. HC 1050, HC 1050 R s/n BES170669 -
  4. Options / accessories
  5. Optional equipment part 2
Options / accessories
  • HC 1050, HC 1050 R s/n BES170669 -
  • Service, repair and wear part kits
  • Mechanical
  • Options / accessories
  • Hydraulic hoses
  • Optional equipment part 1
  • Optional equipment part 2
© 2026 EpirocLegal notice Privacy policy

Spare Parts

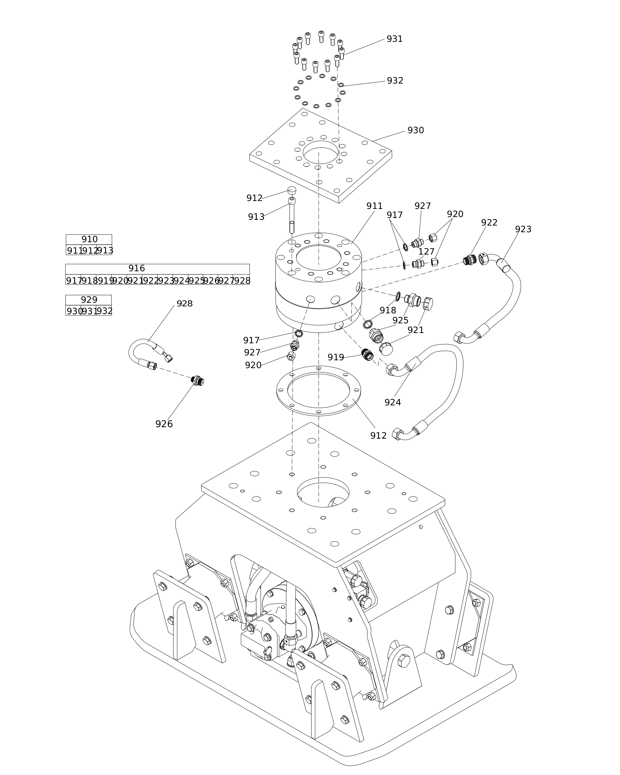
Optional equipment part 2

Illustration for 0
#
Part number
Name
QTY
Remarks
Information
3316000253ROTATION KIT HC 10501
3316000254ROTATION UNIT1
3376100988ROTATOR1
3376102004SPACER1
-ALLEN SCREW8
3376699437HOSE/FITTING KIT1
0661100027SEAL WASHER 21.54x28.58x2.473
0661100029SEAL WASHER 27.05x34.93x2.472
0580001575PIPE COUPLING1
3376100873PLUG2
3376100964NIPPLE2
5750532296PIPE COUPLING1
3316000298HYDRAULIC HOSE (T)1
3316000268HYDRAULIC HOSE (P)1
3376520043FITTING2
5750535330ADAPTER GE10 LR1
3376560020FITTING3
3316000273HYDRAULIC HOSE1
3363115674SANDWICH PLATE1
3363115676SANDWICH PLATE1
3360026782ALLEN SCREW12
3361850748PAIR OF LOCK WASHERS12