• Overview
  • Spare Parts
  • Operation
  1. Overview
  2. Spare Parts
  3. BC 2500 s/n DEQ209344 -
  4. Mechanical
  5. Bucket with intermediate plate
Mechanical
  • Base plate (27) BC 2500, BP 1650, BP 2050, BP 2100, BS 1600, CB 2500, CC 1600, CC 1700, CC 2300, DC 1200, DP 2000, HM 1500, HM 2000, MG 1000, MG 1500, MG 1800
  • Base plate (14) BC 2500, BP 1650, BP 2050, BP 2100, BS 1600, CB 2500, CC 1600, CC 1700, CC 2300, DC 1200, DP 2000, HM 1500, HM 2000, MG 1000, MG 1500, MG 1800
  • BC 2500 s/n DEQ209344 -
  • BC 2500 DEQ209344- PDF
  • BC 2500 DEQ159235-DEQ209343 PDF
  • Service, repair and wear part kits
  • Mechanical
  • Options / accessories
  • Bucket with intermediate plate
  • Bucket without intermediate plate
  • Mobile support parallel, new version
  • Mobile support parallel, old version
  • Mobile support cross, new version
  • Mobile support cross, old version
  • Lower support
  • Inner hydraulic hoses
  • Optional parts
  • Tigthening torques
  • Dimensions with intermediate plate
  • Dimensions without intermediate plate
© 2026 EpirocLegal notice Privacy policy

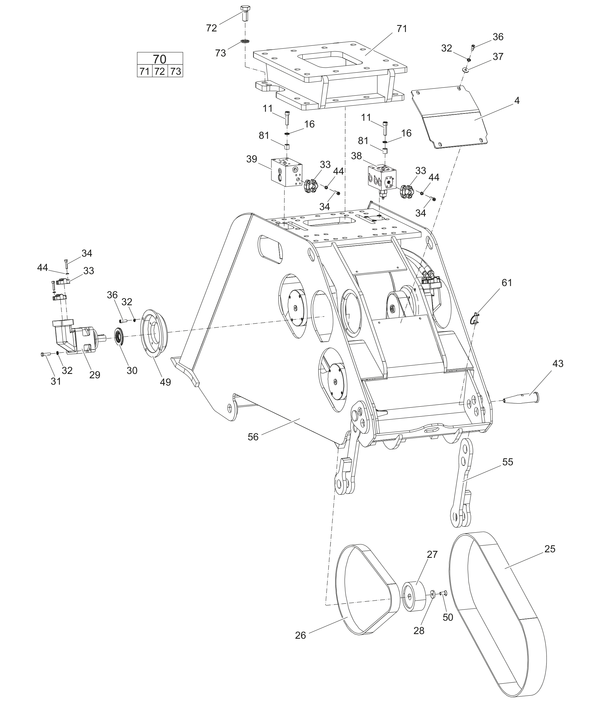
Spare Parts

Bucket with intermediate plate

Illustration for 0
#
Part number
Name
QTY
Remarks
Information
3363118389Gear cover1
3363118386Allen screw8
3361333703PAIR OF LOCK WASHERS8
3363118400Main timing belt1
3363118401Secondary timing belt2
3363118402Gear2
3363118403Washer2
3363118404Hydraulic motor2
3363118405Seal kit (Hydraulic motor)2
3362328039ALLEN SCREW8
3361850596PAIR OF LOCK WASHERS20
3360995664FLANGE HALF12
3363118433Allen screw24
3363118434Allen screw12
3363118407Washer4
3363125236Flow valve1Working valve block
3363118409Valve block1Return valve block
3363118412Pin2
3361850745PAIR OF LOCK WASHERS24
3363118415Support2
3363091047Flat head socket bolt2
3363118416Tensioner fork2
3363118417Housing1
3363118420Locking pin2
3363118435Intermediate plate complete1
3363118039Intermediate plate1
3363089342Hexagonal head bolt12
3361850747PAIR OF LOCK WASHERS12
3363118422Spacer8