• Overview
  • Spare Parts
  • Operation
  • Certificates And Protocols
  • Maintenance
  1. Overview
  2. Spare Parts
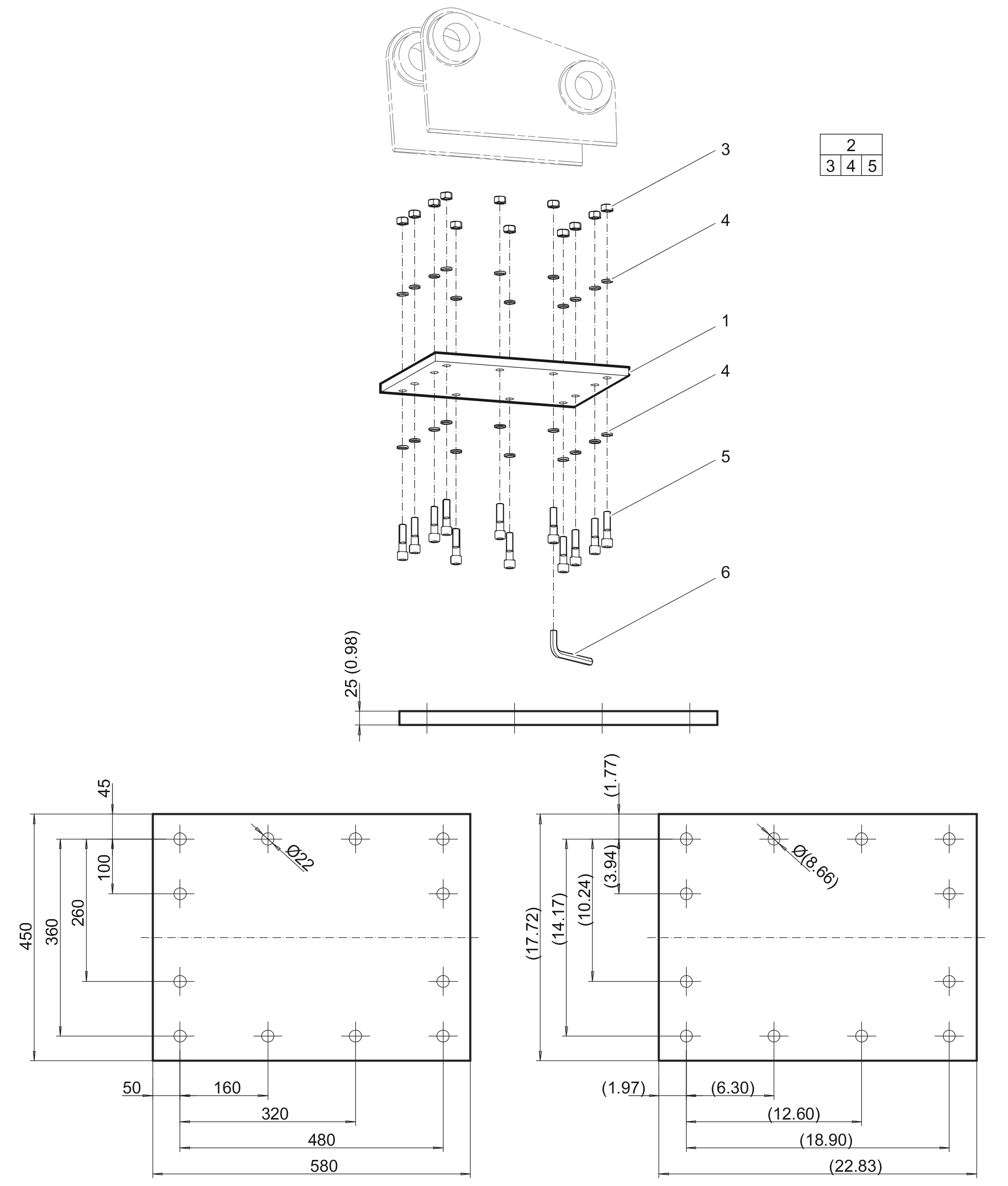
  3. Base plate (20) BC 2100, MB 750, MB 1000, MG 800, HC 850, HC 920, CB 750, CB 950, CC 650, CC 950, DC 600, DC 1000
Base plate (20) BC 2100, MB 750, MB 1000, MG 800, HC 850, HC 920, CB 750, CB 950, CC 650, CC 950, DC 600, DC 1000
  • Base plate (8) BC 2100, MB 750, MB 1000, MG 800, HC 850, HC 920, CB 750, CB 950, CC 650, CC 950, DC 600, DC 1000
  • Base plate (20) BC 2100, MB 750, MB 1000, MG 800, HC 850, HC 920, CB 750, CB 950, CC 650, CC 950, DC 600, DC 1000
  • CB 950 s/n DEQ229229, DEQ229255 -
  • CB 950 DEQ229229, DEQ229255- PDF
  • CB 950 DEQ219118-DEQ229254 PDF
© 2026 EpirocLegal notice Privacy policy

Spare Parts

Base plate

Illustration for 0
#
Part number
Name
QTY
Remarks
Information
3363100695BASE PLATE WITH THROUGH BORINGS1material: EN10025-S355 J2G3
3363094574BOLT KIT1
3360103251NUT12
3361850748PAIR OF LOCK WASHERS24
3360026788Allen screw12
3360209253ALLEN KEY (19 mm)1