• Overview
  • Spare Parts
  • Operation
  • Certificates And Protocols
  1. Overview
  2. Spare Parts
  3. EC 180T s/n DEQ172048 -
  4. Mechanical
  5. Percussion unit part 2: cylinder
Mechanical
  • EC 180T s/n DEQ172048 -
  • EC 180 DEQ172048- PDF
  • Service, repair and wear part kits
  • Mechanical
  • Options / accessories
  • Hydraulic breaker
  • Percussion unit part 1: cylinder cover
  • Percussion unit part 2: cylinder
  • Percussion unit part 3: lower breaker part
  • HATCON
  • Tightening torques
  • Dimensions
© 2026 EpirocLegal notice Privacy policy

Spare Parts

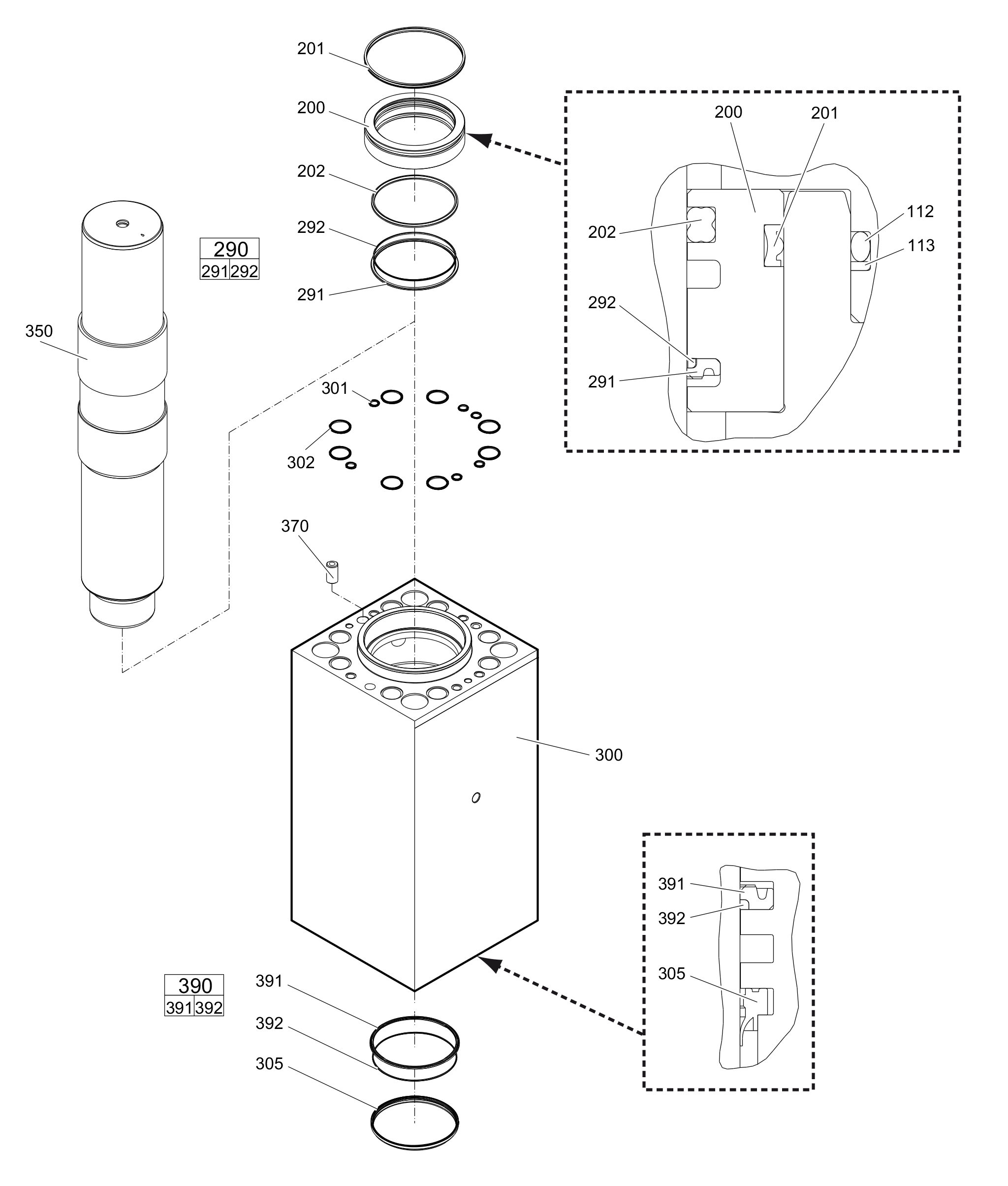
Percussion unit part 2: cylinder

Illustration for 0
#
Part number
Name
QTY
Remarks
Information
3363105563Seal bush1
3363098138Seal1
3361846277Seal1
3363083593Seal kit1
-Seal1
-Back-up ring1
3363112950Cylinder1
3362267585SEAL6
3362267589Seal8
3363083671Wiper1
3361356613Percussion piston1
3360921413Lock pin1
3363083594Seal kit1
-Seal1
-Back-up ring1