• Overview
  • Spare Parts
  • Operation
  • Certificates And Protocols
  1. Overview
  2. Spare Parts
  3. EC 135T s/n DEQ181205 -
  4. Mechanical
  5. Percussion unit part 2: main body complete
Mechanical
  • EC 135T s/n DEQ181205 -
  • EC 135 DEQ181205- PDF
  • EC 135 DEQ140734-DEQ181204 PDF
  • Service, repair and wear part kits
  • Mechanical
  • Options / accessories
  • Hydraulic breaker
  • Percussion unit part 1: cover
  • Percussion unit part 2: main body complete
  • HATCON
  • Tightening torques
  • Dimensions
© 2026 EpirocLegal notice Privacy policy

Spare Parts

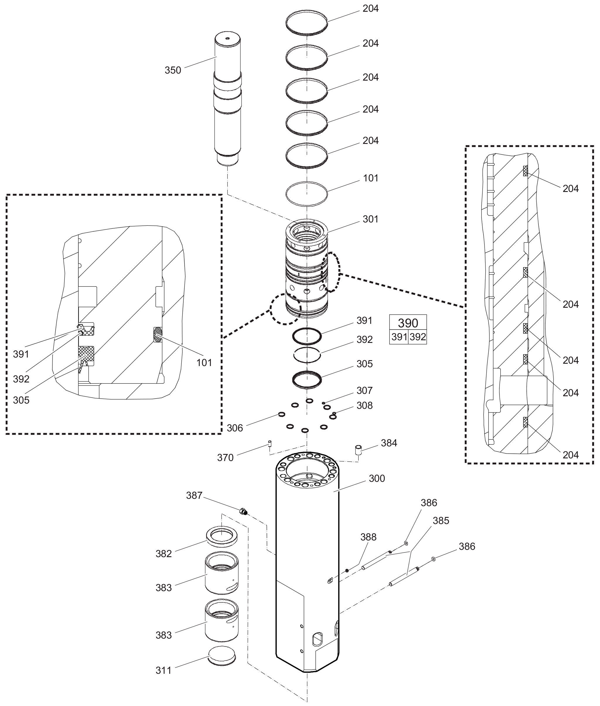
Percussion unit part 2: main body complete

Illustration for 0
#
Part number
Name
QTY
Remarks
Information
3361031951O-RING1
3363110027Seal5
3363114923Main body1with item 382 - 388
3363111447Cylinder bush1
3363098705Wiper1
3363110029Stircomatic8
3362267582Stircomatic1
3362267583SEAL1
3360995339Protective cap1
3363110020Percussion piston1
3360106784Parallel pin 14X281
3363109467Impact ring1
3363109469Wear bush2
3363083574Threaded insert8
3363109457Bolt2
3363110076O-ring2
3363109435NON RETURN VALVE1
3360433774GREASE NIPPLE1
3363103153Seal kit1
-Seal1
-Back-up ring1