• Overview
  • Spare Parts
  • Certificates And Protocols
  • Operation
  • Maintenance
  1. Overview
  2. Spare Parts
  3. EC40T s/n BES140198 -
  4. Mechanical
  5. Tightening torque
Mechanical
  • Base plate (38) EC 40T, EC 50T
  • EC40T s/n BES140198 -
  • EC 40 BES079883-BES095051 PDF
  • EC 40 BES095052-BES140197 PDF
  • EC 40 BES140198- PDF
  • Service, repair and wear part kits
  • Mechanical
  • Options/accessories
  • Hydraulic breaker
  • Percussion unit
  • HATCON (Horizontal)
  • Tightening torque
  • Dimensions
  • Assembly instruction
© 2026 EpirocLegal notice Privacy policy

Spare Parts

Tightening torque

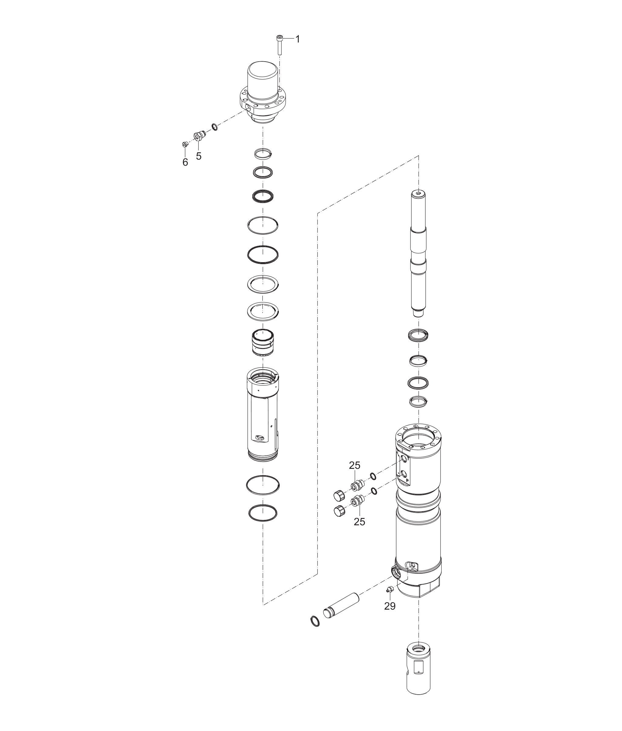
Illustration for 0
#
Part number
Name
QTY
Remarks
Information
-ALLEN SCREW - 28 Nm (21 ft lbf)1
-FILLING VALVE - 130 Nm (96 ft lbf)1
-THREADED PLUG- 20 Nm (15 ft lbf)1
-FITTING - 60 Nm (44 ft lbf)1
-GREASE NIPPLE - 20 Nm (15 ft lbf)1