• Overview
  • Spare Parts
  • Operation
  • Certificates And Protocols
  • Maintenance
  1. Overview
  2. Spare Parts
  3. HB 4100, HB 4100 DP s/n DEQ220482 -
  4. Mechanical
  5. Percussion unit part 2: cylinder
Mechanical
  • Base plate (30) BC 5300, HB 3100, HB 3600, HB 4100, HB 4700, SC 3600, SC 4500
  • Base plate (31) HB 3100, HB 3600, HB 4100, HB 4700, SC 3600, SC 4500
  • HB 4100, HB 4100 DP s/n DEQ220482 -
  • HB 4100 HB 4100 DP DEQ171455-DEQ220481 PDF
  • HB 4100 HB 4100 DP DEQ220482- PDF
  • Forced air ventilation in underwater applications
  • Service, repair and wear part kits
  • Mechanical
  • Options / accessories
  • Hydraulic breaker HB 4100
  • Hydraulic breaker HB 4100 DP
  • Percussion unit part 1: cylinder cover
  • Percussion unit part 2: cylinder
  • Percussion unit part 3: lower breaker part (steel)
  • Percussion unit part 3: lower breaker part (bronze)
  • Connecting kit for automatic lubrication system
  • HATCON
  • Optional parts
  • Tightening torques
  • Dimensions HB 4100
  • Dimensions HB 4100 DP
© 2026 EpirocLegal notice Privacy policy

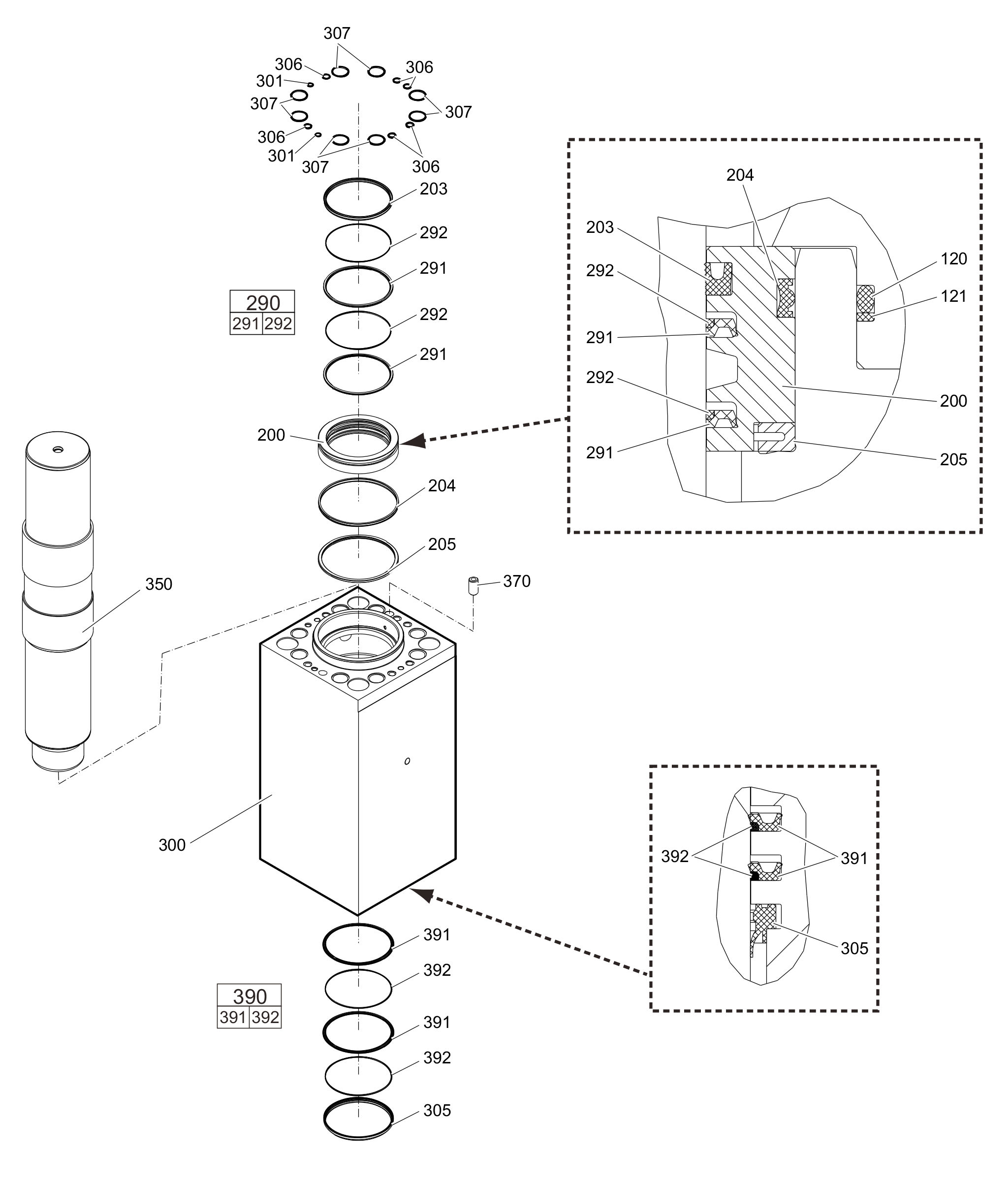
Spare Parts

Percussion unit part 2: cylinder

Illustration for 0
#
Part number
Name
QTY
Remarks
Information
3363085598Seal bush1
3363113167Seal1
3363098138Seal1
3363097795Ring1
3363083593Seal kit2
-Seal1
-Back-up ring1
3363120612Cylinder1
3362267583SEAL2
3363083671Wiper1
3362267585SEAL6
3362267589Seal8
3361356613Percussion piston1
3360921413Lock pin1
3363083594Seal kit2
-Seal1
-Back-up ring1