• Overview
  • Spare Parts
  • Operation
  • Certificates And Protocols
  • Maintenance
  1. Overview
  2. Spare Parts
  3. HB 3600, HB 3600 DP s/n DEQ220482 -
  4. Mechanical
  5. Percussion unit part 3: lower breaker part (bronze)
Mechanical
  • Base plate (30) BC 5300, HB 3100, HB 3600, HB 4100, HB 4700, SC 3600, SC 4500
  • Base plate (31) HB 3100, HB 3600, HB 4100, HB 4700, SC 3600, SC 4500
  • HB 3600, HB 3600 DP s/n DEQ220482 -
  • HB 3600 HB 3600 DP DEQ170744-DEQ180360 PDF
  • HB 3600 HB 3600 DP DEQ180361-DEQ220481 PDF
  • HB 3600 HB 3600 DP DEQ220482 - PDF
  • HB 3600 HB 3600 DP DEQ130613-DEQ140532 PDF
  • Forced air ventilation in underwater applications
  • Service, repair and wear part kits
  • Mechanical
  • Options / accessories
  • Hydraulic breaker HB 3600
  • Hydraulic breaker 3600 DP
  • Percussion unit part 1: cylinder cover
  • Percussion unit part 2: cylinder
  • Percussion unit part 3: lower breaker part (steel)
  • Percussion unit part 3: lower breaker part (bronze)
  • Connecting kit for automatic lubrication system
  • HATCON
  • Optional parts
  • Tightening torques
  • Dimensions HB 3600
  • Dimensions HB 3600 DP
© 2026 EpirocLegal notice Privacy policy

Spare Parts

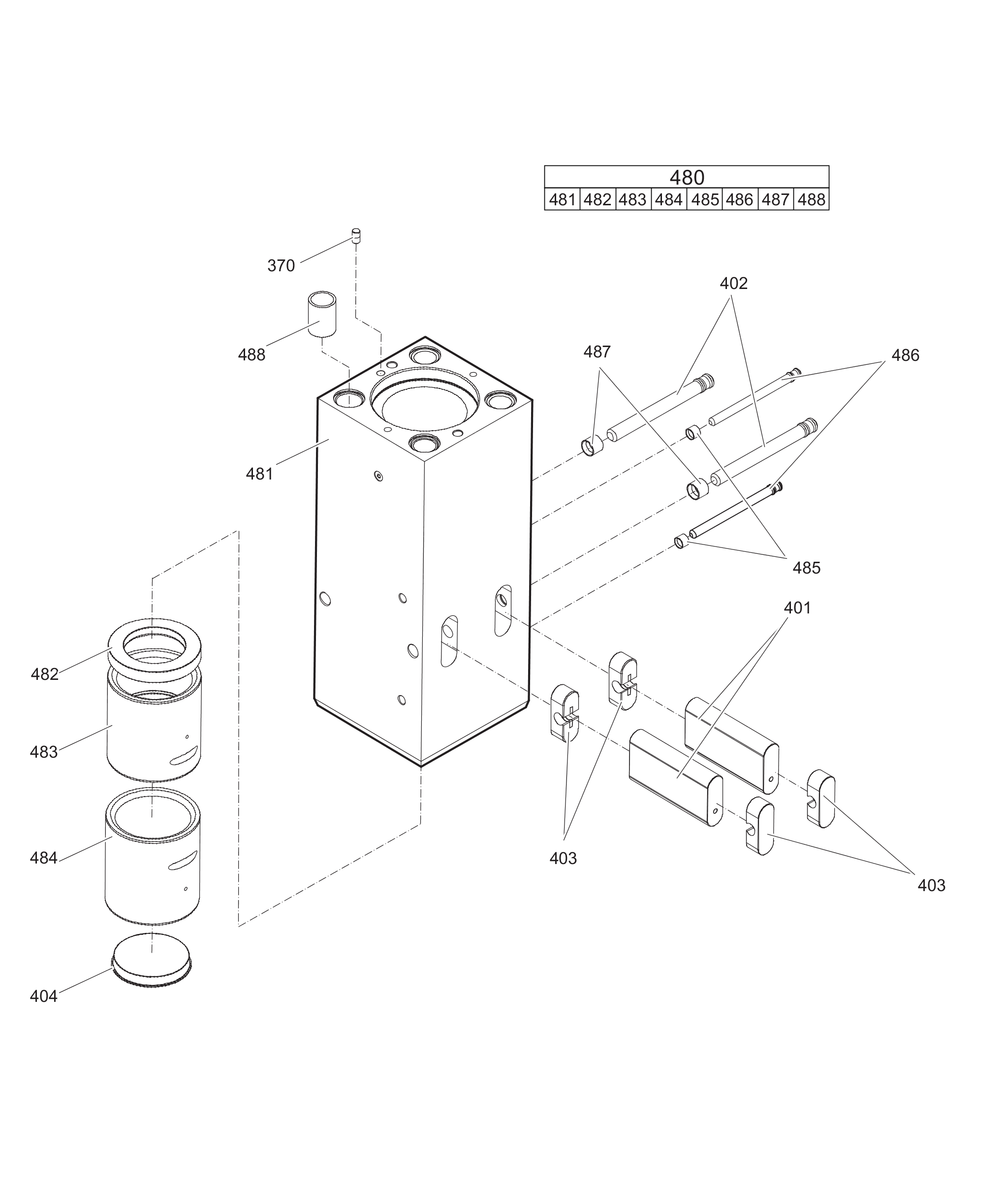
Percussion unit part 3: lower breaker part (bronze)

Illustration for 0
#
Part number
Name
QTY
Remarks
Information
3362268185Lock pin1
3363104521Retainer bar2
3362261541Bolt2
3362262921Plug4
3363070023Protective cap1
3363116909Lower breaker part complete with lower wear bush bronze1Note: When ordering a lower breaker part for DustProtector version it is imperative to order additionally the base for wiper (item 18) and the wiper (item 19).
-Lower breaker part1
3363104527Impact ring1
3363104529Wear bush1
3363104531Wear bush (bronze)1
3361854363LOCKING BUSH2
3361854347Bolt2
3362260433LOCKING BUSH2
3363085321Threaded insert4