• Overview
  • Spare Parts
  • Operation
  • Certificates And Protocols
  • Maintenance
  1. Overview
  2. Spare Parts
  3. HB 3100, HB 3100 DP s/n DEQ220482 -
  4. Service, repair and wear part kits
  5. Seal kit
Service, repair and wear part kits
  • Base plate (30) BC 5300, HB 3100, HB 3600, HB 4100, HB 4700, SC 3600, SC 4500
  • Base plate (31) HB 3100, HB 3600, HB 4100, HB 4700, SC 3600, SC 4500
  • HB 3100, HB 3100 DP s/n DEQ220482 -
  • HB 3100 HB 3100 DP DEQ170920-DEQ180613 PDF
  • HB 3100 HB 3100 DP DEQ220482- PDF
  • HB 3100 HB 3100 DP DEQ180614-DEQ220481 PDF
  • Forced air ventilation in underwater applications
  • Service, repair and wear part kits
  • Mechanical
  • Options / accessories
  • Label kit
  • Seal kit
  • Plastic parts kit
  • Tensioning bolt kit
  • DustProtector kit
  • Noise protection kit
  • Lower breaker part kit (bronze)
  • Lower breaker part kit (steel)
  • Lower breaker part kit (bronze) DustProtector
  • Lower breaker part kit (steel) DustProtector
  • Fastening screw kit
  • Accumulator repair kit
© 2026 EpirocLegal notice Privacy policy

Spare Parts

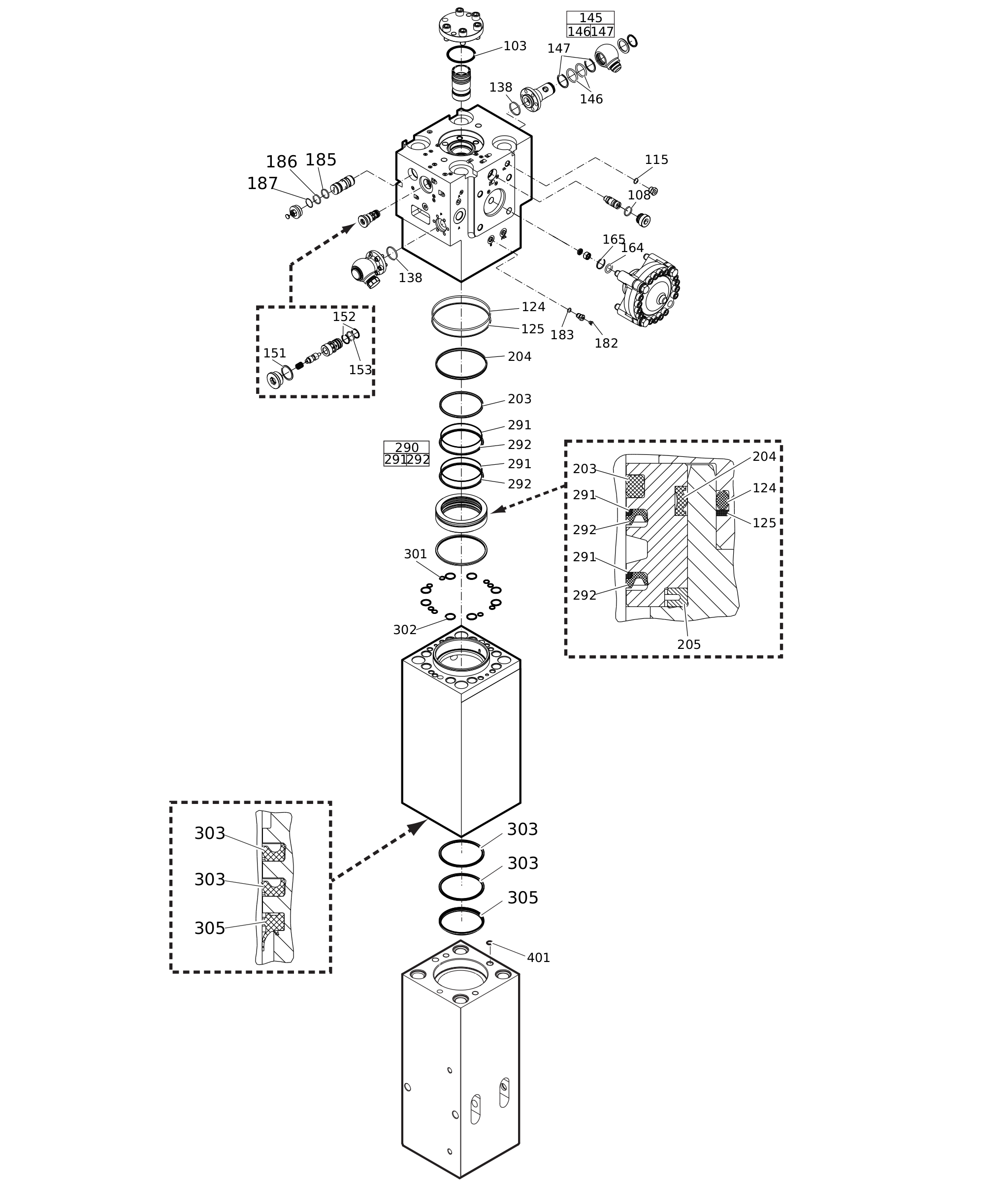
Seal kit

Illustration for 0
#
Part number
Name
QTY
Remarks
Information
3363122810Seal kit1
3360314375O-RING1
3360314370O-RING1
3360478171O-RING1
3361031845O-RING1
3363087482BACK-UP RING1
3360314373O-RING2
3361850422SEAL KIT2
-O-RING2
-BACK-UP RING2
3363121175SEAL1
3363121176BACK-UP RING2
3360314453O-RING1
3360314364O-RING1
3360328046BACK-UP RING1
3360478426THREADED PLUG1
3360175125O-RING1
3363123253SEAL1
3360314790O-RING1
3363126739BACK-UP RING1
3361333017SEAL1
3363098136SEAL1
3363083591SEAL KIT2
-BACK-UP RING1
-SEAL1
3362267585SEAL8
3362267281SEAL8
3363122808SEAL2
3363083670WIPER1
3362267586SEAL1