• Overview
  • Spare Parts
  • Operation
  • Certificates And Protocols
  • Maintenance
  1. Overview
  2. Spare Parts
  3. HB 3100, HB 3100 DP s/n DEQ220482 -
  4. Service, repair and wear part kits
  5. Label kit
Service, repair and wear part kits
  • Base plate (30) BC 5300, HB 3100, HB 3600, HB 4100, HB 4700, SC 3600, SC 4500
  • Base plate (31) HB 3100, HB 3600, HB 4100, HB 4700, SC 3600, SC 4500
  • HB 3100, HB 3100 DP s/n DEQ220482 -
  • HB 3100 HB 3100 DP DEQ170920-DEQ180613 PDF
  • HB 3100 HB 3100 DP DEQ220482- PDF
  • HB 3100 HB 3100 DP DEQ180614-DEQ220481 PDF
  • Forced air ventilation in underwater applications
  • Service, repair and wear part kits
  • Mechanical
  • Options / accessories
  • Label kit
  • Seal kit
  • Plastic parts kit
  • Tensioning bolt kit
  • DustProtector kit
  • Noise protection kit
  • Lower breaker part kit (bronze)
  • Lower breaker part kit (steel)
  • Lower breaker part kit (bronze) DustProtector
  • Lower breaker part kit (steel) DustProtector
  • Fastening screw kit
  • Accumulator repair kit
© 2026 EpirocLegal notice Privacy policy

Spare Parts

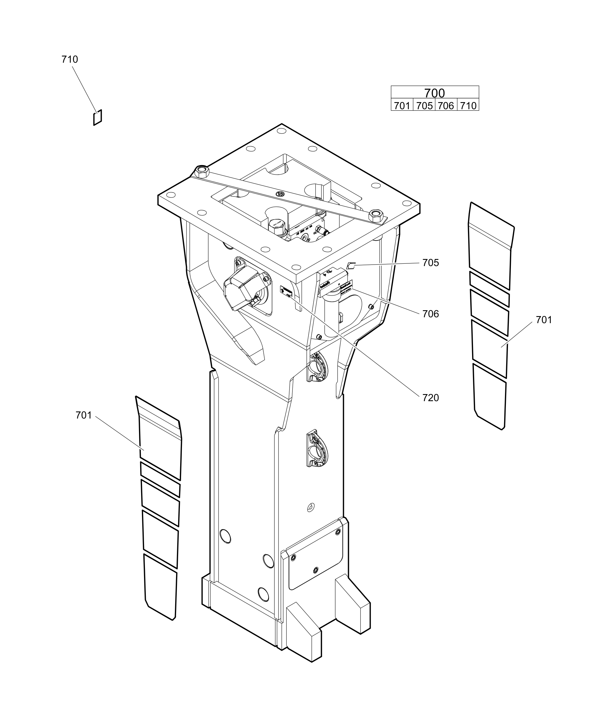
Label kit

Illustration for 0
#
Part number
Name
QTY
Remarks
Information
3363121375Label kit1
3363121941Label "HB 3100 Epiroc"2
3360995411LABEL1
3361853408LABEL2
-SOUND POWER LABEL1
-NAME PLATE - Consult the authorized Customer Center/Dealer in your area.1