• Overview
  • Spare Parts
  • Operation
  • Certificates And Protocols
  • Maintenance
  1. Overview
  2. Spare Parts
  3. HB 3100, HB 3100 DP s/n DEQ220482 -
  4. Mechanical
  5. Percussion unit part 2: cylinder
Mechanical
  • Base plate (30) BC 5300, HB 3100, HB 3600, HB 4100, HB 4700, SC 3600, SC 4500
  • Base plate (31) HB 3100, HB 3600, HB 4100, HB 4700, SC 3600, SC 4500
  • HB 3100, HB 3100 DP s/n DEQ220482 -
  • HB 3100 HB 3100 DP DEQ170920-DEQ180613 PDF
  • HB 3100 HB 3100 DP DEQ220482- PDF
  • HB 3100 HB 3100 DP DEQ180614-DEQ220481 PDF
  • Forced air ventilation in underwater applications
  • Service, repair and wear part kits
  • Mechanical
  • Options / accessories
  • Hydraulic breaker HB 3100
  • Hydraulic breaker 3100 DP
  • Percussion unit part 1: cylinder cover
  • Percussion unit part 2: cylinder
  • Percussion unit part 3: lower breaker part (steel)
  • Percussion unit part 3: lower breaker part (bronze)
  • Connecting kit for automatic lubrication system
  • HATCON
  • Optional parts
  • Tightening torques
  • Dimensions HB 3100
  • Dimensions HB 3100 DP
© 2026 EpirocLegal notice Privacy policy

Spare Parts

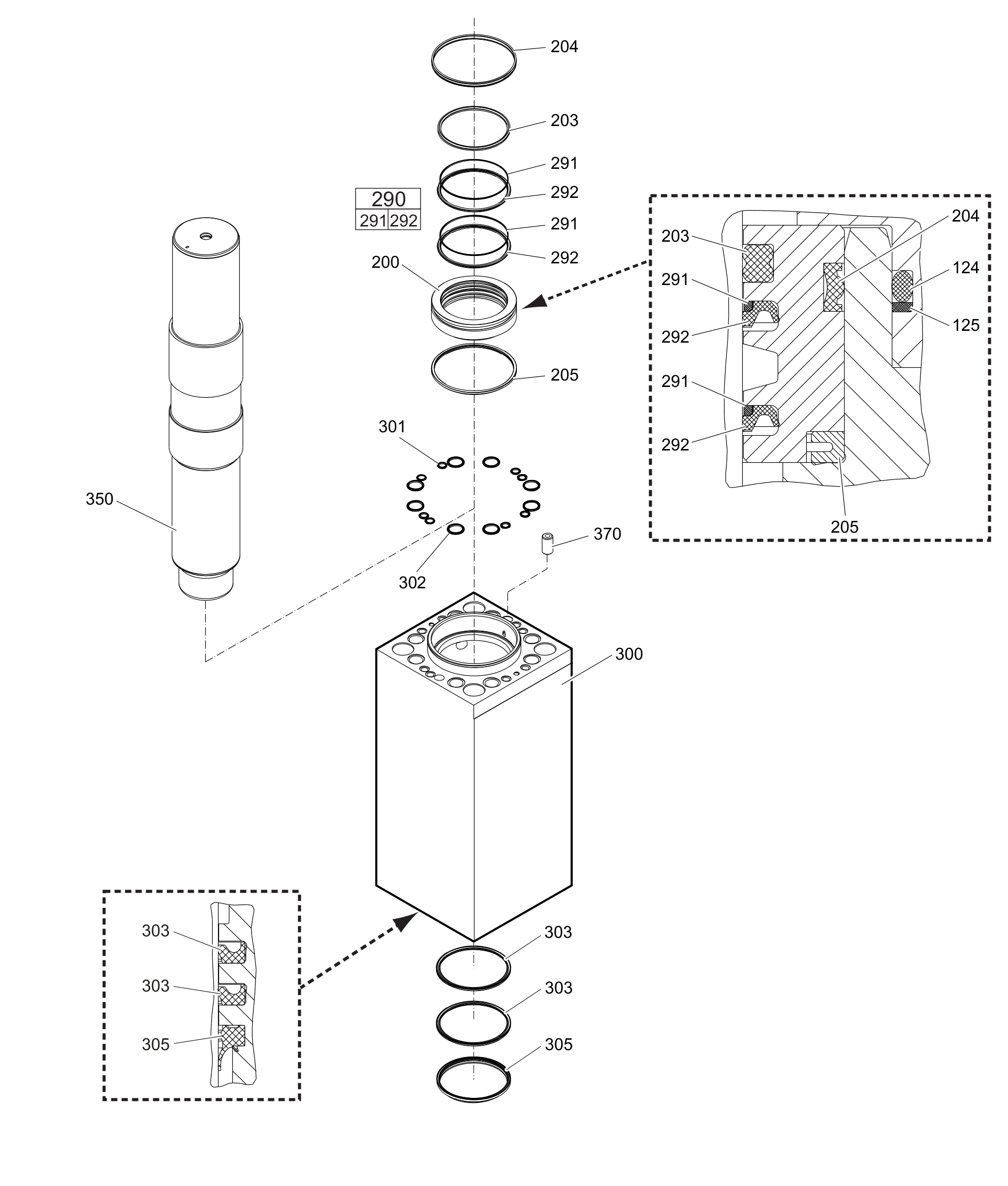
Percussion unit part 2: cylinder

Illustration for 0
#
Part number
Name
QTY
Remarks
Information
3363085612Seal bush1
3361333017SEAL1
3363098136SEAL1
3363097793Ring1
3363083591SEAL KIT2
-BACK-UP RING1
-SEAL1
3363119794Cylinder1
3362267585SEAL8
3362267281SEAL8
3363122808SEAL2
3363083670WIPER1
3361847711Percussion piston1
3360921413Lock pin1