• Overview
  • Spare Parts
  • Operation
  • Certificates And Protocols
  • Maintenance
  1. Overview
  2. Spare Parts
  3. MB 1500 s/n DEQ201177 -
  4. Mechanical
  5. Percussion unit part 2: cylinder
Mechanical
  • MB 1500 s/n DEQ201177 -
  • MB 1500 DEQ201177- PDF
  • MB 1500 DEQ170639-DEQ201176 PDF
  • Forced air ventilation in underwater applications
  • Service, repair and wear part kits
  • Mechanical
  • Options / accessories
  • Hydraulic breaker
  • Percussion unit part 1: cylinder cover
  • Percussion unit part 2: cylinder
  • Percussion unit part 3: lower breaker part
  • Connecting kit for for automatic lubrication system
  • HATCON
  • StartSelect - AutoStart or AutoStop
  • Optional parts
  • Tightening torques
  • Dimensions
© 2026 EpirocLegal notice Privacy policy

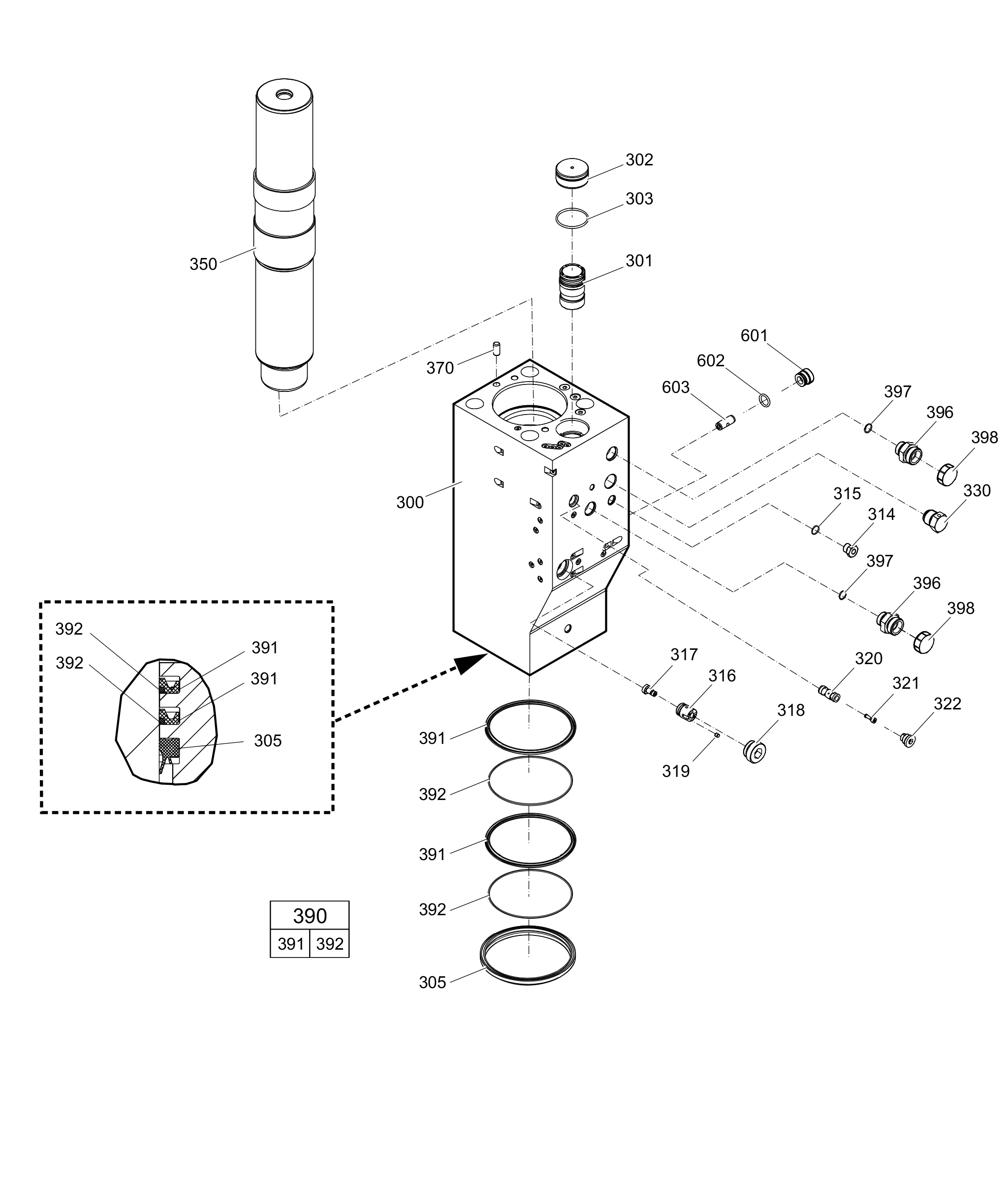
Spare Parts

Percussion unit part 2: cylinder

Illustration for 0
#
Part number
Name
QTY
Remarks
Information
3363098722Cylinder1with items 601 - 603B | AutoControl
3363102117Main control valve1
3363102115Cover1
3363098702O-RING1
3363098705Wiper1
3361854657CONNECTING SCREW1
3360478171O-RING1
3363067803Valve bushing1
3363067805Valve piston1
3363069501Threaded plug1
3363066197Pin1
3363033059Valve housing1
3363105305Valve piston1
3363033749Threaded plug1
3361854511NON-RETURN VALVE1
3363098892Percussion piston1
3360921179Lock pin1
3363103153Seal kit2
-Seal1
-Back-up ring1
3360995665Fitting2with item 397D | StartSelect
3360314551O-ring2
3361353488Protective cap2
3363082593Plug1
3363083245O-RING1
3363082505Valve1