• Overview
  • Spare Parts
  • Repair
  • Operation
  • Certificates And Protocols
  • Maintenance
  1. Overview
  2. Spare Parts
  3. MB 1000 s/n DEQ201527 -
  4. Service, repair and wear part kits
  5. Seal kit
Service, repair and wear part kits
  • Base plate (8) BC 2100, MB 750, MB 1000, MG 800, HC 850, HC 920, CB 750, CB 950, CC 650, CC 950, DC 600, DC 1000
  • Base plate (20) BC 2100, MB 750, MB 1000, MG 800, HC 850, HC 920, CB 750, CB 950, CC 650, CC 950, DC 600, DC 1000
  • MB 1000 s/n DEQ201527 -
  • MB 1000 DEQ201527- PDF
  • MB 1000 DEQ182295-DEQ201526 PDF
  • MB 1000 DEQ170832-DEQ182294 PDF
  • Forced air ventilation in underwater applications
  • Service, repair and wear part kits
  • Mechanical
  • Options / accessories
  • Label kit
  • Seal kit
  • Plastic parts kit
  • Tensioning bolt kit
  • Noise protection kit
  • Lower breaker part kit (steel)
© 2026 EpirocLegal notice Privacy policy

Spare Parts

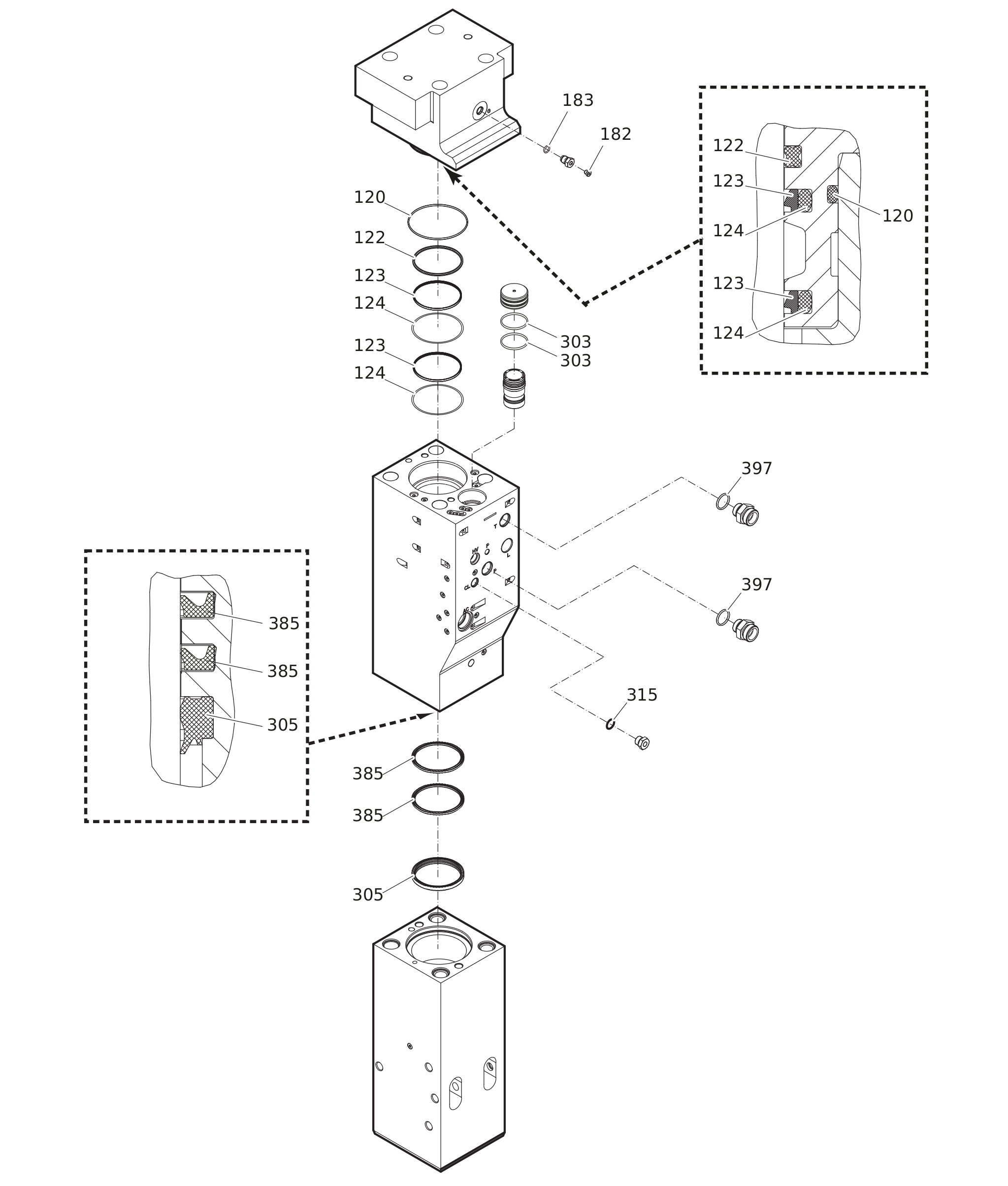
Seal kit

Illustration for 0
#
Part number
Name
QTY
Remarks
Information
3363123137Seal kit1
3360314376O-RING1
3360920934Seal1
3363085238Seal2
3361192025O-RING2
3360478426THREADED PLUG1
3360175125O-RING1
3360314495O-ring2
3363085242Wiper1
3360478171O-RING1
3363123135Seal2
3360314551O-ring2