• Overview
  • Spare Parts
  • Repair
  • Operation
  • Certificates And Protocols
  • Maintenance
  1. Overview
  2. Spare Parts
  3. MB 750 s/n DEQ201164 -
  4. Service, repair and wear part kits
  5. Seal kit
Service, repair and wear part kits
  • MB 750 s/n DEQ201164 -
  • MB 750 DEQ201164- PDF
  • MB 750 DEQ171984-DEQ201163 PDF
  • MB 750 DEQ171257-DEQ171983 PDF
  • Forced air ventilation in underwater applications
  • Service, repair and wear part kits
  • Mechanical
  • Options / accessories
  • Label kit
  • Seal kit
  • Plastic parts kit
  • Tensioning bolt kit
  • Noise protection kit
  • Lower breaker part kit (steel)
© 2026 EpirocLegal notice Privacy policy

Spare Parts

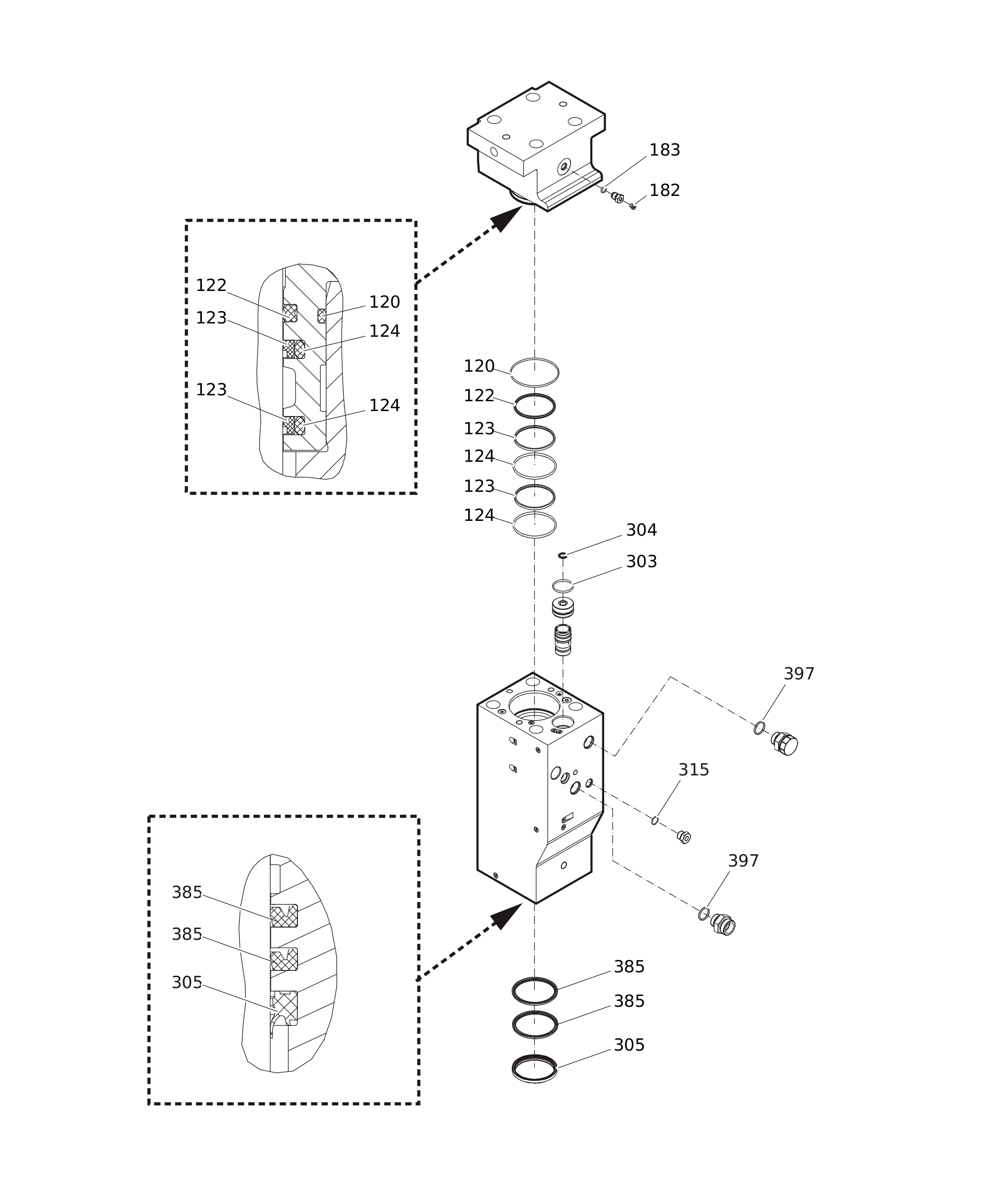
Seal kit

Illustration for 0
#
Part number
Name
QTY
Remarks
Information
3363122475Seal kit1
3360314664O-RING1
3363091710SEAL1
3363091708Seal2
3363091709O-RING2
3360478426THREADED PLUG1
3360175125O-RING1
3360314494O-RING1
3362267585SEAL1
3363091714WIPER1
3360478171O-RING1
3363122402SEAL2
3360314551O-ring2