• Overview
  • Operation
  • Spare Parts
  • Certificates And Protocols
  1. Overview
  2. Spare Parts
  3. VC 3000 s/n DGR286437 -
  4. Mechanical
  5. Transverse Drum Cutter, part 3 (Rotatable upper part)
Mechanical
  • VC 3000 s/n DGR286437 -
  • VC 3000 s/n DGR286437 -
  • VC 3000 Epiroc DGR286437- PDF
  • VC 3000 Erkat DGR286437- PDF
  • Service, repair and wear part kits
  • Mechanical
  • Options / accessories
  • Transverse Drum Cutter, part 1 (Rotatable upper part)
  • Transverse Drum Cutter, part 1 (Intermediate bracket)
  • Transverse Drum Cutter, part 2 (Rotatable upper part)
  • Transverse Drum Cutter, part 2 (Intermediate bracket)
  • Transverse Drum Cutter, part 3 (Rotatable upper part)
  • Transverse Drum Cutter, part 3 (Intermediate bracket)
  • HATCON
  • Tightening torques
  • Dimensions (Rotatable upper part)
  • Dimensions (Intermediate bracket)
© 2026 EpirocLegal notice Privacy policy

Spare Parts

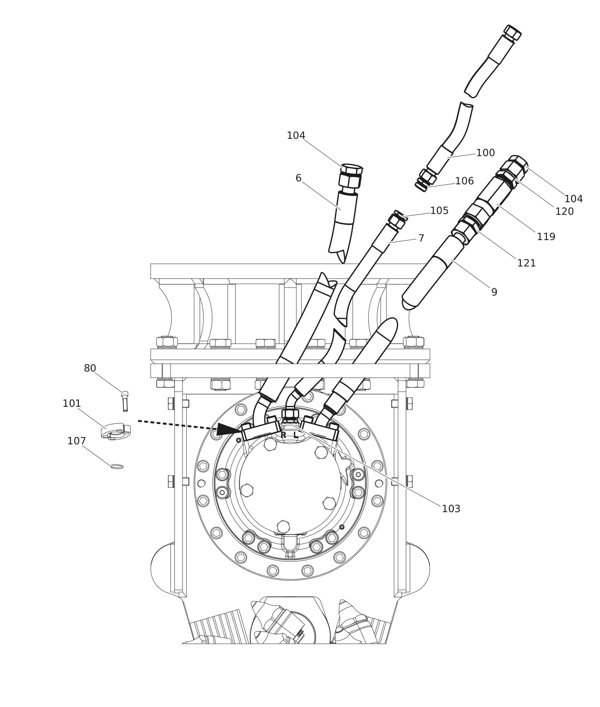
Transverse Drum Cutter, part 3 (Rotatable upper part)

Illustration for 0
#
Part number
Name
QTY
Remarks
Information
3311001200Hose kit metric, 2.5 m (Standard)1
3311004928Hydraulic hose1
3311000244Hydraulic hose1
3311004929Hydraulic hose1
3311000536Allen screw8
3311000536Allen screw8
3311001582Hydraulic hose1
3311000170Flange4
3311000170Flange4
3311000099Fitting1
3311000118Plug2
3311000119Plug1
3311000120Fitting1
3311000556O-ring2
3311000556O-ring2
3311002965Check valve1
3311002965Check valve1
3311000085Fitting1
3311000086Fitting1
3311005353Hose kit JIC, 2.5 m (Optional)1
3311005334Hydraulic hose1
3311005335Hydraulic hose1
3311005336Hydraulic hose1
3311005337Hydraulic hose1
3311002210Fitting1
3311002745Plug2
3311002747Plug1
3311002211Fitting1
3311002744Fitting1
3311003016Fitting1