• Overview
  • Spare Parts
  • Operation
  • Certificates And Protocols
  • Maintenance
  1. Overview
  2. Spare Parts
  3. Base plate (38) EC 40T, EC 50T
Base plate (38) EC 40T, EC 50T
  • EC50T s/n BES140218 -
  • Base plate (38) EC 40T, EC 50T
  • EC 50 BES140218- PDF
  • EC 50 BES095542-BES140217 PDF
  • EC 50 BES07136-BES095541 PDF
© 2026 EpirocLegal notice Privacy policy

Spare Parts

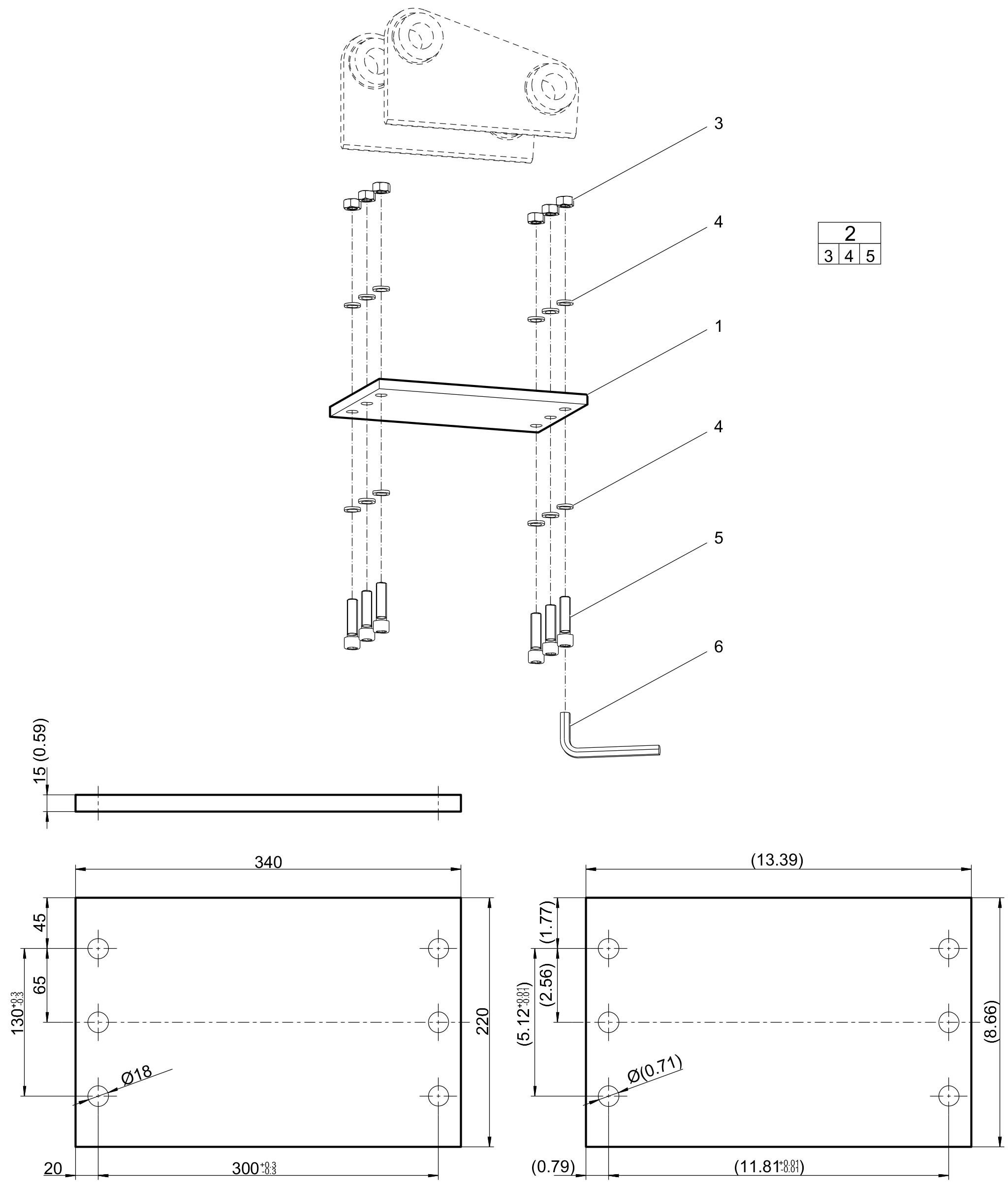
Base plate

Illustration for 0
#
Part number
Name
QTY
Remarks
Information
3362269303BASE PLATE WITH THROUGH BORINGS1material: EN10025-S355 J2G3
3363106507BOLT KIT1
3360103270NUT6
3361333703LOCK WASHERS12
3360026644SCREW6
3360204963ALLEN KEY (14MM)1