• Overview
  • Spare Parts
  • Operation
  • Certificates And Protocols
  • Maintenance
  1. Overview
  2. Spare Parts
  3. HB 4100, HB 4100 DP s/n DEQ220482 -
  4. Service, repair and wear part kits
  5. Lower breaker part kit (bronze) DustProtector
Service, repair and wear part kits
  • Base plate (30) BC 5300, HB 3100, HB 3600, HB 4100, HB 4700, SC 3600, SC 4500
  • Base plate (31) HB 3100, HB 3600, HB 4100, HB 4700, SC 3600, SC 4500
  • HB 4100, HB 4100 DP s/n DEQ220482 -
  • HB 4100 HB 4100 DP DEQ171455-DEQ220481 PDF
  • HB 4100 HB 4100 DP DEQ220482- PDF
  • Forced air ventilation in underwater applications
  • Service, repair and wear part kits
  • Mechanical
  • Options / accessories
  • Label kit
  • Seal kit
  • Tensioning bolt kit
  • Plastic parts kit
  • DustProtector kit
  • Noise protection kit
  • Lower breaker part kit (bronze)
  • Lower breaker part kit (steel)
  • Lower breaker part kit (bronze) DustProtector
  • Lower breaker part kit (steel) DustProtector
  • Fastening screw kit
  • Accumulator repair kit
© 2026 EpirocLegal notice Privacy policy

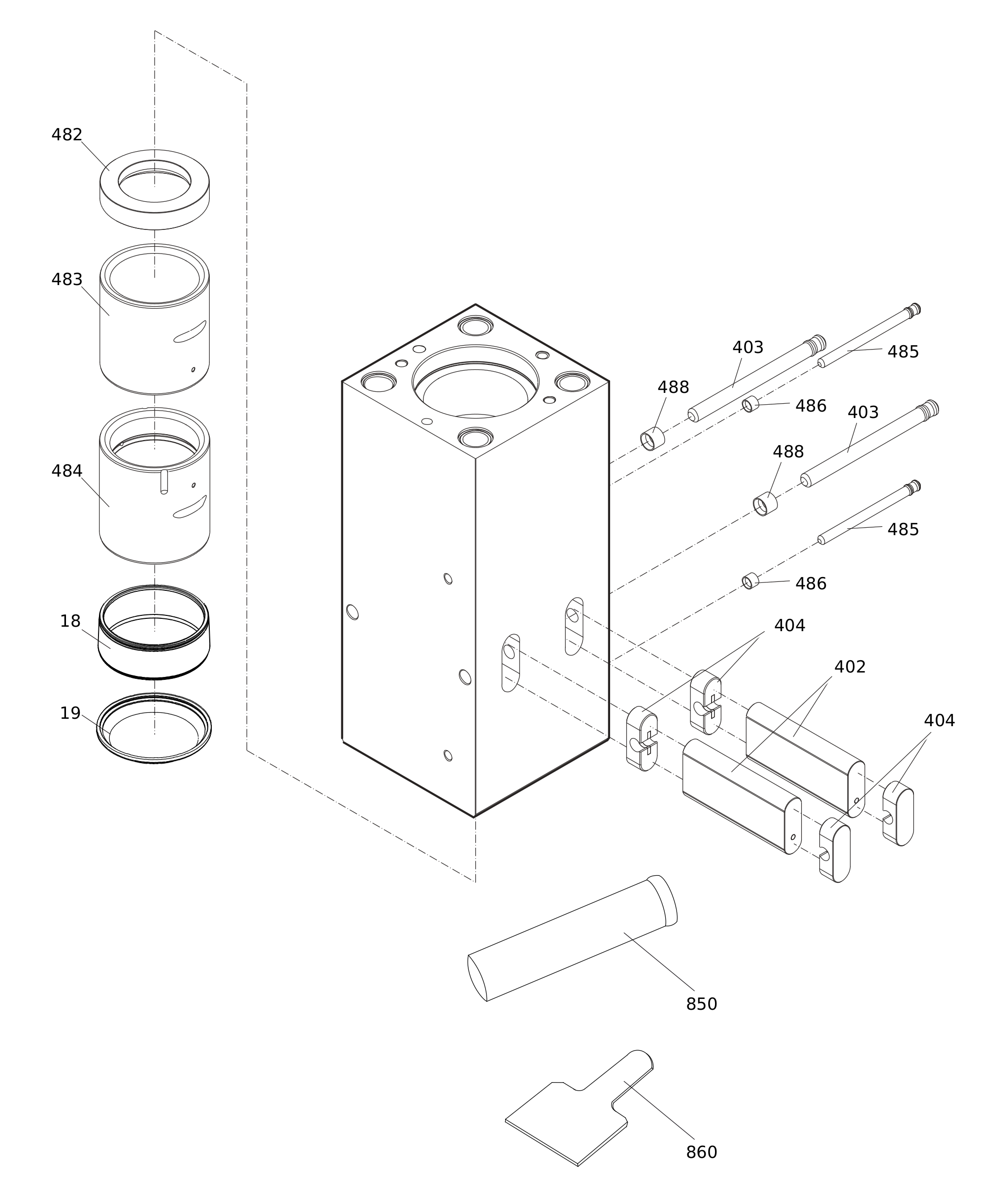
Spare Parts

Lower breaker part kit (bronze) DustProtector

Illustration for 0
#
Part number
Name
QTY
Remarks
Information
3363094378Lower breaker part kit (bronze) for DustProtector version1
3363088651Base for wiper1
3363034265Wiper1
3361331529Retainer bar2
3362261540Bolt2
3362262921Plug4
3363069083Impact ring1
3363069137Wear bush1
3363088511Wear bush (bronze)1
3361854347Bolt2
3361854363LOCKING BUSH2
3362260433LOCKING BUSH2
-BIO CHISEL PASTE CARTRIDGE, 1 x 400 g (0.88 lbs)1
3361852175TEST GAUGE LOWER WEAR BUSH1