• Overview
  • Spare Parts
  • Operation
  • Certificates And Protocols
  • Maintenance
  1. Overview
  2. Spare Parts
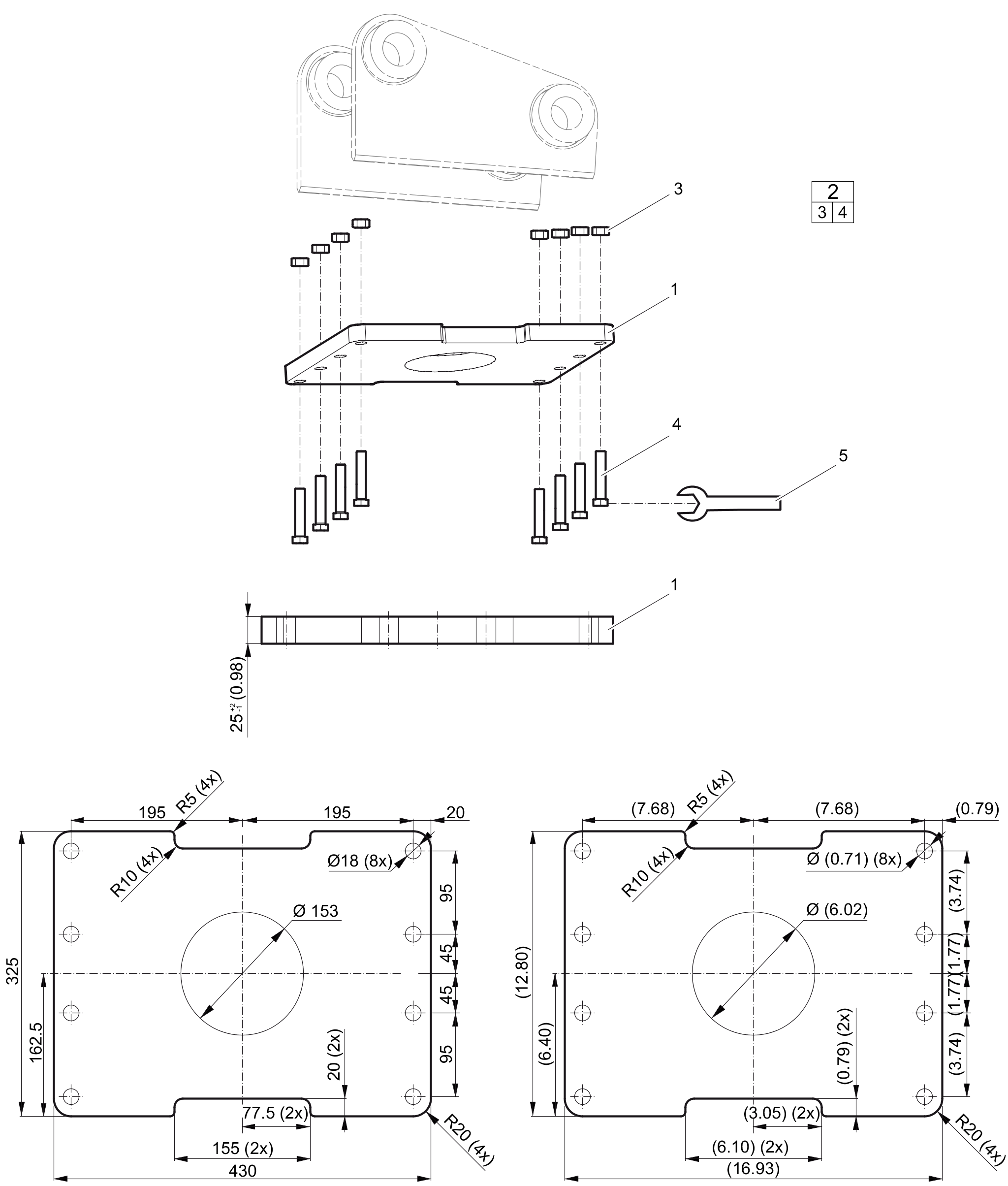
  3. Base plate (5) SB 302, ES 70, MG 400, MG 500, DC 400
Base plate (5) SB 302, ES 70, MG 400, MG 500, DC 400
  • Base plate (5) SB 302, ES 70, MG 400, MG 500, DC 400
  • SB 302 s/n BES043707 -
  • SB 302 BES043707- PDF
  • SB accumulator screws
  • SB 302 BES008572-BES043706 PDF
  • SB 302 up to BES008572 PDF
  • SB 302 Scaler BES043707- PDF
  • SB 302 Scaler BES008861-BES043706 PDF
  • SB 302 Scaler BES008572-BES008860 PDF
  • Forced air ventilation in underwater applications
© 2026 EpirocLegal notice Privacy policy

Spare Parts

Base plate

Illustration for 0
#
Part number
Name
QTY
Remarks
Information
3315356600BASE PLATE1material: EN10025-S355 J2G3
3315365360SCREW SET1
0266211400Hex. Nut8
0147148503SCREW, HEX HEAD8
3360430655OPEN END SPANNER (24/27 mm)1