• Overview
  • Spare Parts
  • Operation
  • Certificates And Protocols
  • Maintenance
  1. Overview
  2. Spare Parts
  3. BP 4050, BP 4050 R s/n DEQ239233 -
  4. Mechanical
  5. Hydraulic cylinder
Mechanical
  • Base plate (35) BP 4050, CB 4500, CB 5500, CC 3700, CC 4700, CC 5000
  • Base plate (36) BC 5300, BP 4050, CB 4500, CB 5500, CC 3700, CC 4700, CC 5000
  • BP 4050, BP 4050 R s/n DEQ239233 -
  • BP 4050_BP 4050 R DEQ219387-DEQ239232 PDF
  • BP 4050_BP 4050 R DEQ239233- and DGR240001- PDF
  • Service, repair and wear part kits
  • Mechanical
  • Options / accessories
  • Bulk pulverizer BP 4050 non rotating
  • Bulk pulverizer BP 4050 rotating
  • Pulverizer jaw
  • Hydraulic cylinder
  • Upper part complete
  • Rotary transmission
  • Tightening torques
  • Dimensions BP 4050 R non rotating
  • Dimensions BP 4050 R rotating
© 2026 EpirocLegal notice Privacy policy

Spare Parts

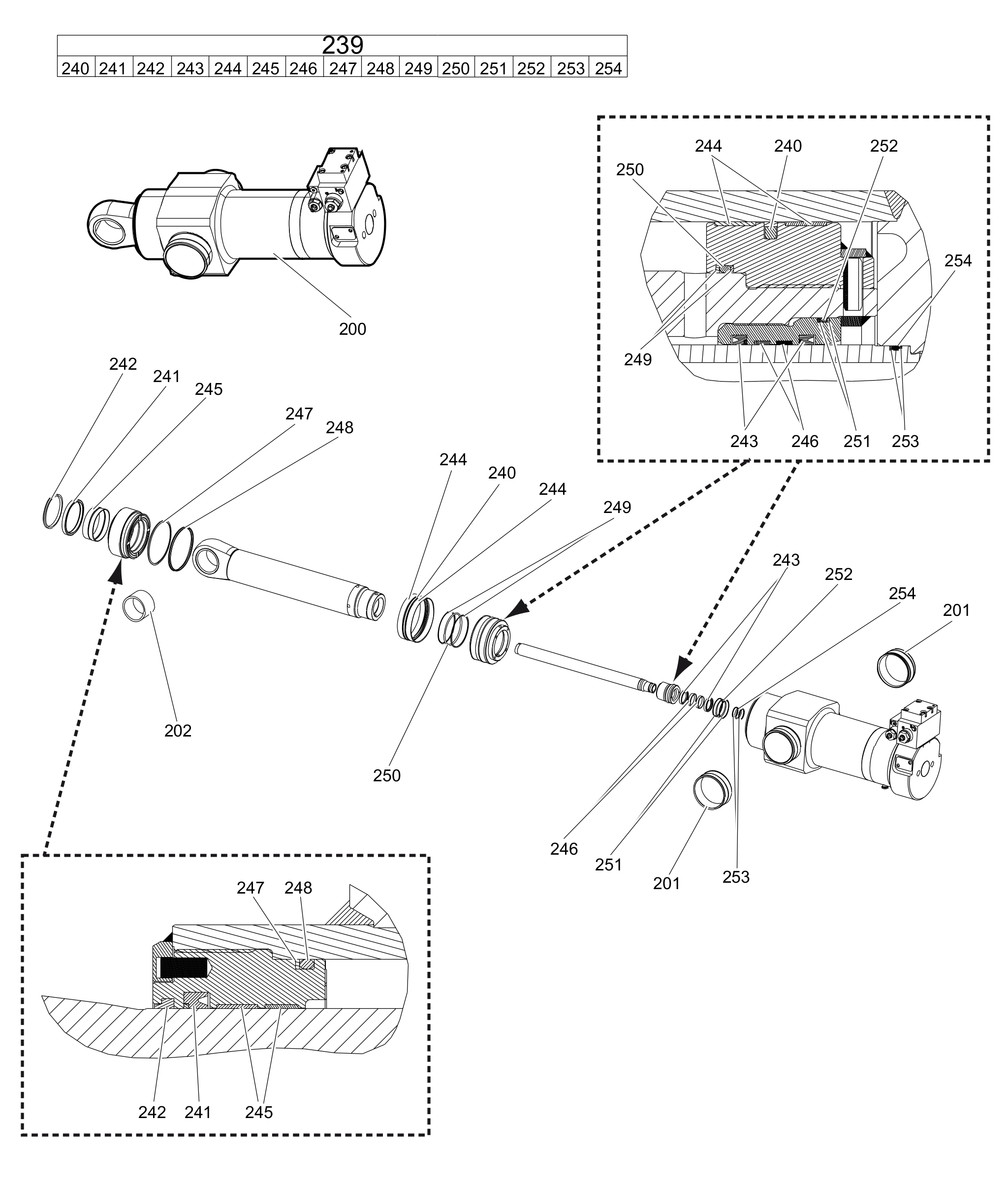
Hydraulic cylinder

Illustration for 0
#
Part number
Name
QTY
Remarks
Information
3363125849HYDRAULIC CYLINDER1with parts item 201 - 255
3363125530BEARING BUSH2
3363125534CLAMPING BUSH1
3363127122SEAL KIT (Hydraulic cylinder)1
3363127109SEAL1
3363127102SEAL1
3363127101WIPER1
3363127116SEAL2
3363127108GUIDE RING3
3363127105GUIDE RING2
3363127119GUIDE RING2
3363127106BACK-UP RING1
3363127107O-RING1
3363127112BACK-UP RING2
3363127113O-RING1
3363127114BACK-UP RING2
-O-RING1
3363127120BACK-UP RING2
3363127121O-RING1